6日资金路线图:龙虎榜机构抢筹14股
7月6日,上证指数、深证成指、创业板指早盘探底回升,随后回落下探,午后持续走低;科创50指数早盘探底回升,随后震荡回落,午后低位窄幅震荡。截至收盘,上证指数报3205.57点,跌0.54%,成交额3208.08亿元;深证成指报10968.37点,跌0.55%,成交额4990.1亿元;创业板指报2192.19点,跌0.91%,成交额2103.88亿元;科创50指数报1002.11点,跌0.36%,成交额642.87亿元。沪深两市合计成交8198.18亿元,成交额较上一交易日减少479.69亿元。
资金流向
1.主力资金
wind统计显示,沪深两市主力资金今日净流出130.79亿元。其中,创业板主力资金净流出46.33亿元,沪深300成分股主力资金净流出38.67亿元,科创板主力资金净流出7.1亿元。
从行业板块来看,申万所属的31个一级行业,今日有6个行业板块主力资金呈现净流入,其中,计算机行业板块主力资金净流入最多,净流入金额11.38亿元;行业板块主力资金净流入居前的还有电子、房地产、农林牧渔,净流入金额分别为8.01亿元、4.11亿元、2.1亿元。25个行业板块主力资金呈现净流出,其中,有色金属行业板块主力资金净流出最多,净流出金额为31.68亿元;行业板块主力资金净流出靠前的还有电力设备、医药生物、通信、汽车、机械设备,净流出金额分别为20.54亿元、19.16亿元、11.88亿元、10.03亿元、7.93亿元。

个股来看,今日有1740只个股获主力资金净流入,其中,28股获主力资金净流入超1亿元。拓维信息获主力资金净流入最多,净流入金额为14.1亿元;主力资金净流入居前的个股还有华工科技、TCL科技、京东方A、科大讯飞、众泰汽车,净流入金额分别为3.7亿元、3.4亿元、3.31亿元、3.19亿元、2.78亿元。

此外,3247只个股被主力资金净卖出,其中,35股被主力资金净卖出超1亿元。主力资金净流出最多的个股是东方财富,净流出金额为4.42亿元;主力资金净流出居前的个股还有中际旭创、三七互娱、飞龙股份、北方稀土、驰宏锌锗,净流出金额分别为3.08亿元、3.05亿元、2.96亿元、2.83亿元、2.74亿元。

2.北向资金
北向资金今日成交额为1035.78亿元,成交净卖出13.44亿元,连续3个交易日净卖出。其中,沪股通净卖出21.73亿元,深股通净买入8.29亿元。
活跃个股方面,北向资金今日净买入较多的有中兴通讯、立讯精密、宁德时代、比亚迪、拓普集团,净买入金额分别为4.44亿元、4.26亿元、3.41亿元、1.48亿元、0.6亿元。北向资金净卖出较多的有分众传媒、招商银行、中国平安、科大讯飞、山西汾酒,净卖出金额分别为3.68亿元、3.55亿元、2.77亿元、1.98亿元、1.96亿元。

3.龙虎榜机构资金动向
盘后龙虎榜数据显示,今日机构席位资金合计净买入约9489.65万元。其中,净买入的个股14只,净卖出的个股8只。机构净买入最多的股票是云南锗业,净买入金额约7791.54万元;机构净买入居前的还有拓维信息、科力尔、彩虹股份、弘信电子、比依股份等股。机构净卖出最多的股票是浙江世宝,净卖出金额约1.22亿元;机构净卖出居前的还有坚朗五金、万泽股份等股。

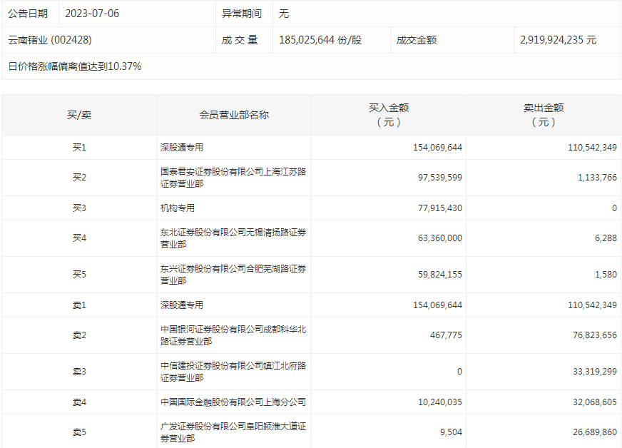
云南锗业今天涨停。盘后数据显示,个机构出现在龙虎榜单上,净买入约7791.54万元;国泰君安证券股份有限公司上海江苏路证券营业部买入9753.96万元,同时卖出113.38万元;中国银河证券股份有限公司成都科华北路证券营业部买入46.78万元,同时卖出7682.37万元。

涨跌停个股
截至收盘,沪深两市合计1982只个股上涨,2771只个股下跌,平盘个股249只,停牌的个股15只。不含当日上市新股,共有40只个股涨停,6只个股跌停。续涨停天数看,浙江世宝已连收5个涨停板,连续涨停板数量最多。
从收盘涨停板封单量来看,金科股份最受追捧,收盘涨停板封单有5538.87万股;其次是大连热电、众泰汽车,涨停板封单分别有5361.14万股、4538.92万股。以封单金额计算,拓维信息、大连热电、天津普林、浙江世宝、众泰汽车等涨停板封单资金较多,分别有4.62亿元、3.15亿元、1.82亿元、1.8亿元、1.54亿元。

行业板块、概念方面看,行业板块跌多涨少。其中,房地产、电子、汽车、农林牧渔、通信、计算机等行业板块涨幅靠前;存储芯片、PCB、激光雷达、CPO概念、光通信模块、鸡肉概念等概念走势活跃。有色金属、医药生物、钢铁、银行、电力设备、食品饮料、家电、交通运输等行业板块跌幅居前;氦气概念、钛白粉、CRO、中药概念、小金属概念、熊去氧胆酸、黄金概念、稀土永磁、低碳冶金等概念走势较弱。涨停个股主要集中在电子、汽车、房地产等行业。

(来源:证券时报)
免责声明:本页所载内容来旨在分享更多信息,不代表九方智投观点,不构成投资建议。据此操作风险自担。投资有风险、入市需谨慎。
相关股票
相关板块
相关资讯
扫码下载
九方智投app
扫码关注
九方智投公众号
头条热搜
涨幅排行榜
暂无评论
赶快抢个沙发吧