24日资金路线图:龙虎榜机构抢筹7股
2月24日,上证指数、深证成指早盘震荡下探,午后有所回升;创业板指早盘震荡下探,午后低位窄幅震荡;科创50指数早盘冲高回落,午后一度探底回升,随后再度回落。截至收盘,上证指数报3267.16点,跌0.62%,成交额3080.04亿元;深证成指报11787.45点,跌0.81%,成交额4177.78亿元;创业板指报2428.94点,跌1.16%,成交额1530.41亿元;科创50指数报990.63点,跌0.18%,成交额452亿元。沪深两市合计成交7257.82亿元,成交额较上一交易日减少814.67亿元。
资金流向
1.主力资金
Wind统计显示,沪深两市主力资金今日净流出270.3亿元。其中,创业板主力资金净流出71.9亿元,沪深300成分股主力资金净流出95.93亿元,科创板主力资金净流出2.53亿元。
从行业板块来看,申万所属的31个一级行业,今日仅有计算机、国防军工2个行业板块主力资金呈现净流入,净流入金额分别为19.93亿元、11.3亿元。29个行业板块主力资金呈现净流出,其中,非银金融行业板块主力资金净流出最多,净流出金额为43.59亿元;行业板块主力资金净流出靠前的还有电力设备、医药生物、汽车、有色金属、机械设备,净流出金额分别为42.24亿元、29.26亿元、22.4亿元、18.4亿元、18.38亿元。

个股来看,今日有1569只个股获主力资金净流入,其中,16股获主力资金净流入超1亿元。中科曙光获主力资金净流入最多,净流入金额为8.15亿元;主力资金净流入居前的个股还有拓维信息、证通电子、扬州金泉、中国船舶、通富微电,净流入金额分别为6.77亿元、4.23亿元、3.22亿元、2.92亿元、2.68亿元。

此外,3337只个股被主力资金净卖出,其中,57股被主力资金净卖出超1亿元。主力资金净流出最多的个股是东方财富,净流出金额为17.2亿元;主力资金净流出居前的个股还有湘财股份、宁德时代、三一重工、隆基绿能、长安汽车,净流出金额分别为9.1亿元、4.87亿元、3.99亿元、3.81亿元、3.78亿元。

2.北向资金
北向资金本周累计成交4261.43亿元,成交净卖出41.25亿元。其中,沪股通合计净买入24.83亿元,深股通合计净卖出66.08亿元。
从单日看,北向资金今日成交额为749.26亿元,成交净卖出50.98亿元,连续3个交易日净卖出。其中,沪股通净卖出30.18亿元,深股通净卖出20.8亿元。
活跃个股方面,北向资金今日净买入的有宁德时代、长江电力、紫光国微、国电南瑞、中国平安,净买入金额分别为1.18亿元、0.52亿元、0.37亿元、0.29亿元、0.07亿元。北向资金净卖出较多的有贵州茅台、隆基绿能、东方财富、招商银行、泸州老窖,净卖出金额分别为7.07亿元、5.38亿元、2.94亿元、2.7亿元、2.5亿元。

3.龙虎榜机构资金动向
盘后龙虎榜数据显示,今日机构席位资金合计净买入约1.08亿元。其中,净买入的个股7只,净卖出的个股9只。机构净买入最多的股票是南华期货,净买入金额约7739.5万元;机构净买入居前的还有拓维信息、九牧王等股。机构净卖出最多的股票是奥联电子,净卖出金额约1325.73万元;机构净卖出居前的还有三变科技、晋拓股份、江苏华辰等股。

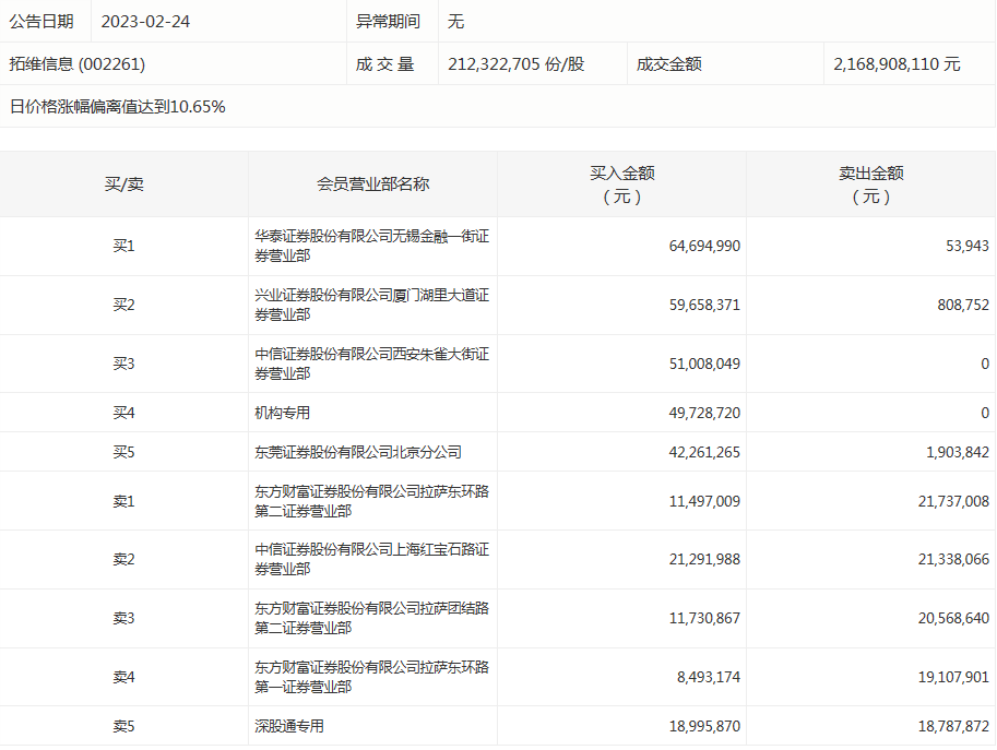
拓维信息今天涨停。盘后数据显示,1个机构出现在龙虎榜单上,净买入约4972.87万元;华泰证券股份有限公司无锡金融一街证券营业部买入6469.5万元,同时卖出5.39万元;中信证券股份有限公司上海红宝石路证券营业部买入2129.2万元,同时卖出2133.81万元。

涨跌停个股
截至收盘,沪深两市合计1719只个股上涨,2981只个股下跌,平盘个股216只,停牌的个股8只。不含当日上市新股,共有19只个股涨停,6只个股跌停。连续涨停天数看,*ST瑞德已连收8个涨停板,连续涨停板数量最多。
涨停股中,从收盘涨停板封单量来看,*ST瑞德最受追捧,收盘涨停板封单有3363.72万股;其次是拓维信息、证通电子,涨停板封单分别有2249.05万股、770.74万股。以封单金额计算,拓维信息、证通电子、网达软件等涨停板封单资金较多,分别有2.35亿元、0.9亿元、0.84亿元。

行业板块、概念方面看,行业板块跌多涨少。其中,国防军工、计算机、通信、纺织服装、造纸印刷等行业板块涨幅靠前;CPO概念、东数西算、云计算、航母概念、网络安全等概念走势活跃。食品饮料、证券、保险、教育、汽车、电力设备、有色金属、建筑材料、房地产等行业板块跌幅居前;激光雷达、熊去氧胆酸、钙钛矿电池、乳业、粮食概念、CRO、减速器、无线充电等概念走势较弱。涨停个股主要集中在计算机、纺织服装、非银金融等行业。

(来源:证券时报)
免责声明:本页所载内容来旨在分享更多信息,不代表九方智投观点,不构成投资建议。据此操作风险自担。投资有风险、入市需谨慎。
相关股票
相关板块
相关资讯
扫码下载
九方智投app
扫码关注
九方智投公众号
头条热搜
涨幅排行榜
暂无评论
赶快抢个沙发吧