22日资金路线图:龙虎榜机构抢筹9股
2月22日,上证指数、深证成指、科创50指数早盘冲高回落,随后震荡回升,午后一度回落,之后再度回升;创业板指早盘一度上扬,随后快速回落,随后窄幅震荡。截至收盘,上证指数报2988.36点,涨1.27%,成交额3652.64亿元;深证成指报9043.75点,涨0.76%,成交额4571.24亿元;创业板指报1757.87点,涨0.31%,成交额2041.26亿元;科创50指数报762.38点,涨0.96%,成交额497.13亿元。沪深两市合计成交8223.88亿元,成交额较上一交易日减少1578.63亿元。
资金流向
1.主力资金
Wind统计显示,沪深两市主力资金今日净流入0.95亿元。其中,创业板主力资金净流出3.47亿元,沪深300成份股主力资金净流出15.2亿元,科创板主力资金净流入3.68亿元。
从行业板块来看,申万所属的31个一级行业,今日有9个行业板块主力资金呈现净流入,其中,计算机行业板块主力资金净流入最多,净流入金额为20.14亿元;行业板块主力资金净流入居前的还有电子、通信、煤炭,净流入金额分别为9.52亿元、6.76亿元、5.07亿元。22个行业板块主力资金呈现净流出,其中,电力设备行业板块主力资金净流出最多,净流出金额为9.31亿元;行业板块主力资金净流出靠前的还有汽车、有色金属、纺织服装、房地产、医药生物,净流出金额分别为6.44亿元、5.01亿元、4.74亿元、3.16亿元、2.57亿元。

个股来看,今日有2432只个股获主力资金净流入,其中,19股获主力资金净流入超1亿元。中科曙光主力资金净流入最多,净流入金额为5.77亿元;主力资金净流入居前的个股还有高新发展、泸州老窖、中国石油、钧达股份、兆易创新,流入金额分别为3.3亿元、2.58亿元、2.43亿元、2.36亿元、2.01亿元。

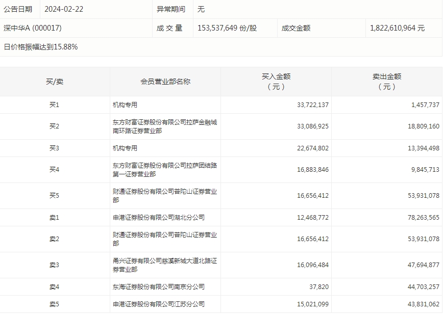
此外,2668只个股被主力资金净卖出,其中,20股被主力资金净卖出超1亿元。主力资金净流出最多的个股是深中华A,净流出金额为4.03亿元;主力资金净流出居前的个股还有宁德时代、因赛集团、软通动力、新易盛、比亚迪,净流出金额分别为3.14亿元、2.13亿元、2.05亿元、1.87亿元、1.74亿元。

2.北向资金
北向资金今日成交额为1192.92亿元,成交净买入36.9亿元,连续2个交易日净买入。其中,沪股通净买入25.52亿元,深股通净买入11.38亿元。
活跃个股方面,北向资金今日净买入较多的有贵州茅台、宁德时代、平安银行、工业富联、比亚迪,净买入金额分别为6.29亿元、3.05亿元、2.29亿元、2.23亿元、1.92亿元。北向资金净卖出较多的有中际旭创、招商银行、中兴通讯,净卖出金额分别为1.9亿元、0.5亿元、0.4亿元。

3.龙虎榜机构资金动向
盘后龙虎榜数据显示,今日机构席位资金合计净卖出约8530.46万元。其中,净买入的个股9只,净卖出的个股10只。机构净买入最多的股票是深中华A,净买入金额约4154.47万元;机构净买入居前的还有高新发展、中远通、成都华微等股。机构净卖出最多的股票是因赛集团,净卖出金额约1.24亿元;机构净卖出居前的还有奥雅股份、瑞玛精密等股。

深中华A今天跌4.11%。盘后数据显示,2个机构出现在龙虎榜单上,合计净买入4154.47万元;东方财富证券股份有限公司拉萨金融城南环路证券营业部买入3308.69万元,同时卖出1880.92万元;申港证券股份有限公司湖北分公司买入1246.88万元,同时卖出7826.36万元。

个股涨跌情况
截至收盘,沪深两市合计4496只个股上涨,465只个股下跌,平盘个股142只,停牌的个股4只。不含当日上市新股,共有96只个股涨停,1只个股跌停。连续涨停天数看,连续涨停天数超过2天的个股有36只。其中,克来机电已连收10个涨停板,连续涨停板数量最多。
从收盘涨停板封单量来看,二六三最受追捧,收盘涨停板封单有7786.31万股;其次是蓝科高新、国脉文化,涨停板封单分别有3628.67万股、3028.93万股。以封单金额计算,国脉文化、二六三、信雅达等涨停板封单资金较多,分别有3.85亿元、3.61亿元、3.59亿元。

行业板块、概念方面看,煤炭、计算机、通信、石油石化、传媒、电子、机械设备、环保、军工等行业板块涨幅靠前;国资云概念、东数西算、液冷概念、数据确权、算力概念、多模态AI、信创、摄像头、新型工业化等概念走势活跃。涨停个股主要集中在计算机、电子、通信、机械设备、医药生物等行业。

免责声明:本页所载内容来旨在分享更多信息,不代表九方智投观点,不构成投资建议。据此操作风险自担。投资有风险、入市需谨慎。
相关股票
相关板块
相关资讯
扫码下载
九方智投app
扫码关注
九方智投公众号
头条热搜
涨幅排行榜
暂无评论
赶快抢个沙发吧