14日资金路线图:龙虎榜机构抢筹11股
12月14日,上证指数、深证成指早盘窄幅震荡,临近午盘有所上扬,午后一度拉升,随后回落,尾盘有所回升;创业板指早盘一度冲高,随后回落走低,午后再度冲高回落;科创50指数早盘高开后震荡回落,午后震荡下探。截至收盘,上证指数报3176.53点,涨0.01%,成交额3339.51亿元;深证成指报11321.81点,跌0.02%,成交额4769.27亿元;创业板指报2368.08点,跌0.34%,成交额1540.92亿元;科创50指数报984.22点,跌0.51%,成交额514亿元。沪深两市合计成交8108.78亿元,成交额较上一交易日减少55.64亿元。
资金流向
1.主力资金
Wind统计显示,沪深两市主力资金今日净流出206.15亿元。其中,创业板主力资金净流出43.63亿元,沪深300成分股主力资金净流出41.06亿元,科创板主力资金净流出0.24亿元。
从行业板块来看,申万所属的28个一级行业,今日有食品饮料、计算机、休闲服务、银行4个行业板块主力资金呈现净流入,净流入金额分别为9.85亿元、2.32亿元、1.42亿元、1.35亿元。24个行业板块主力资金呈现净流出,其中,医药生物行业板块主力资金净流出最多,净流出金额为82.43亿元;行业板块主力资金净流出靠前的还有电气设备、化工、汽车、房地产、交通运输,净流出金额分别为21.7亿元、16.22亿元、13.26亿元、11.47亿元、10.23亿元。

个股来看,今日有1866只个股获主力资金净流入,其中,31股获主力资金净流入超1亿元。宁波远洋获主力资金净流入最多,净流入金额为4.33亿元;主力资金净流入居前的个股还有大港股份、巨轮智能、顺丰控股、招商银行、五粮液,净流入金额分别为3.79亿元、3.54亿元、3.3亿元、3亿元、2.84亿元。

此外,3007只个股被主力资金净卖出,其中,49股被主力资金净卖出超1亿元。主力资金净流出最多的个股是以岭药业,净流出金额为12.93亿元;主力资金净流出居前的个股还有中国联通、振东制药、阳光电源、新华制药、兆易创新,净流出金额分别为4.61亿元、3.9亿元、3.9亿元、3.68亿元、2.91亿元。

2.北向资金
北向资金今日成交额为870.23亿元,成交净买入16.52亿元。其中,沪股通净买入0.79亿元,深股通净买入15.73亿元。
活跃个股方面,北向资金净买入较多的有招商银行、中国联通、比亚迪、宁德时代、中国中免,净买入金额分别为4.34亿元、3.71亿元、3.21亿元、3.16亿元、2.6亿元。北向资金净卖出较多的有国电南瑞、中微公司、先导智能、贵州茅台、陕西煤业,净卖出金额分别为3.15亿元、2.91亿元、2.88亿元、1.53亿元、1.5亿元。

3.龙虎榜机构资金动向
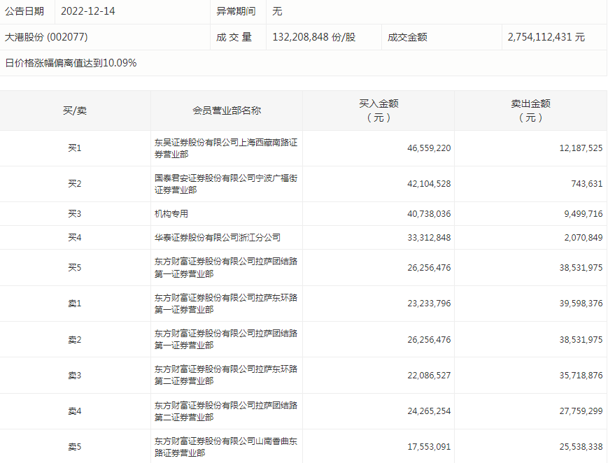
盘后龙虎榜数据显示,今日机构席位资金合计净卖出约1.58亿元。其中,净买入的个股11只,净卖出的个股11只。机构净买入最多的股票是大港股份,净买入金额约3123.83万元;机构净买入居前的还有维康药业、敏芯股份、中富电路等股。机构净卖出最多的股票是千红制药,净卖出金额约7333.42万元;机构净卖出居前的还有亨迪药业、丰原药业等股。


涨跌停个股
截至收盘,沪深两市合计1876只个股上涨,2850只个股下跌,平盘个股156只,停牌的个股5只。不含当日上市新股,共有59只个股涨停,17只个股跌停。连续涨停天数看,人人乐已连收7个涨停板,连续涨停板数量最多。
涨停股中,从收盘涨停板封单量来看,格力地产最受追捧,收盘涨停板封单有8964.63万股;其次是美邦服饰、国星光电,涨停板封单分别有4668.12万股、3303.37万股。以封单金额计算,格力地产、国星光电、西安饮食等涨停板封单资金较多,分别有8.55亿元、3.11亿元、2.49亿元


(来源:证券时报)
免责声明:本页所载内容来旨在分享更多信息,不代表九方智投观点,不构成投资建议。据此操作风险自担。投资有风险、入市需谨慎。
相关股票
相关板块
相关资讯
扫码下载
九方智投app
扫码关注
九方智投公众号
头条热搜
涨幅排行榜
暂无评论
赶快抢个沙发吧