7日资金路线图:龙虎榜机构抢筹10股
7月7日,上证指数早盘探底回升,午后震荡回落,尾盘有所回升;深证成指、创业板指、科创50指数早盘触底回升,午后维持高位震荡走势。截止收盘,上证指数报3364.40点,涨0.27%,成交额4382.03亿元;深证成指报12935.85点,涨0.97%,成交额6148.24亿元;创业板指报2849.71点,涨1.68%,成交额2086.45亿元;科创50指数报1111.67点,涨0.9%,成交额558亿元。沪深两市合计成交10530.27亿元,成交额较上一交易日减少336.2亿元,连续11个交易日突破1万亿元。
资金流向
1.主力资金
Wind统计显示,沪深两市主力资金今日净流入62.67亿元。其中,创业板主力资金净流入19.69亿元,沪深300成分股主力资金净流入64.1亿元,科创板主力资金净流出3.07亿元。
从行业板块来看,申万所属的28个一级行业,今日有12个行业板块主力资金呈现净流入,其中,电气设备行业板块主力资金净流入最多,净流入金额为63.51亿元;行业板块主力资金净流入居前的还有汽车、有色金属、国防军工,净流入金额分别为54亿元、13.72亿元、8.83亿元。16个行业板块主力资金呈现净流出,其中,医药生物行业板块主力资金净流出最多,净流出金额为28.42亿元;行业板块主力资金净流出靠前的还有食品饮料、非银金融、计算机、传媒、机械设备,净流出金额分别为13.12亿元、11.82亿元、7.59亿元、6.33亿元、5.98亿元。

个股来看,今日有1982只个股获主力资金净流入,其中,72股获主力资金净流入超1亿元。比亚迪获主力资金净流入最多,净流入金额为18.91亿元;主力资金净流入居前的个股还有宁德时代、阳光电源、盐湖股份、长安汽车、亿纬锂能,净流入金额分别为16.82亿元、16.43亿元、8.16亿元、7.75亿元、6.56亿元。

此外,2721只个股被主力资金净卖出,其中,56股被主力资金净卖出超1亿元。主力资金净流出最多的个股是巨轮智能,净流出金额为7.02亿元;主力资金净流出居前的个股还有海康威视、华友钴业、五粮液、当升科技、大连重工,净流出金额分别为3.69亿元、3.38亿元、3.1亿元、2.87亿元、2.75亿元。

2.北向资金
北向资金今日成交额为1021.93亿元,成交净买入5.54亿元。其中,沪股通净卖出3.1亿元,深股通净买入8.64亿元。
活跃个股方面,北向资金净买入较多的有中远海控、天齐锂业、五粮液、立讯精密、药明康德,净买入金额分别为4.87亿元、3.19亿元、1.95亿元、1.89亿元、1.3亿元。北向资金净卖出较多的有长安汽车、明阳智能、韦尔股份、亿纬锂能、隆基绿能,净卖出金额分别为6.46亿元、4.96亿元、2.84亿元、2.7亿元、2.48亿元。

3.龙虎榜机构资金动向
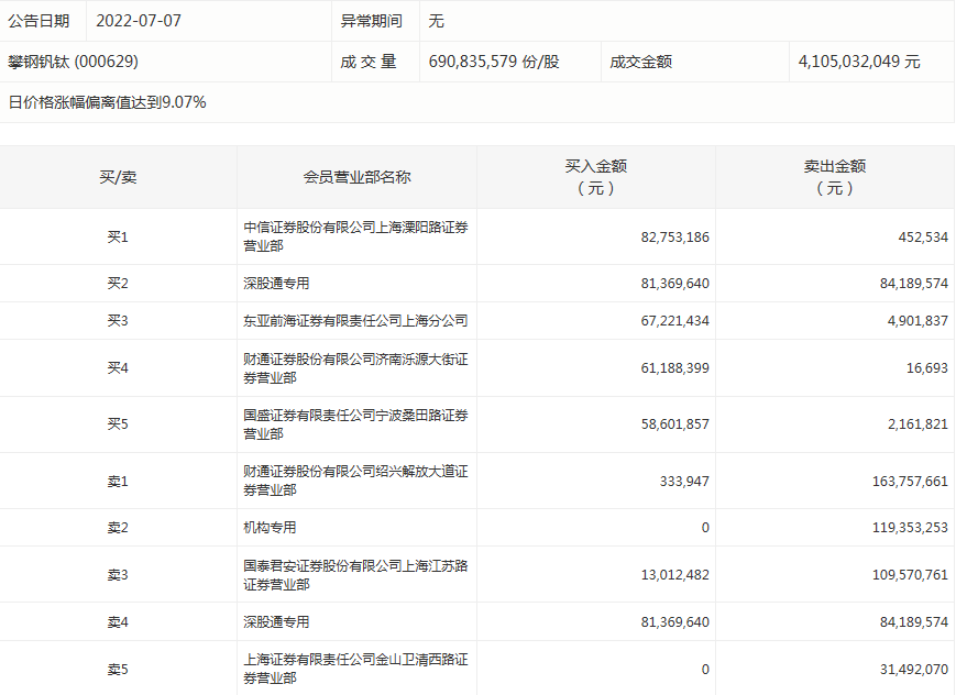
盘后龙虎榜数据显示,今日机构席位资金合计净买入约1.45亿元。其中,净买入的个股10只,净卖出的个股10只。机构净买入最多的股票是派能科技,净买入金额约1.89亿元;机构净买入居前的还有东威科技、瑞芯微、新莱应材等股。机构净卖出最多的股票是攀钢钒钛,净卖出金额约1.19亿元。机构净卖出靠前的还有丰元股份、凯美特气、百龙创园等股。

涨跌停个股
截至收盘,沪深两市合计2553只个股上涨,1951只个股下跌,平盘个股211只,停牌的个股7只。不含当日上市新股,共有91只个股涨停,5只个股跌停。连续涨停天数看,恒康医疗已连收10个涨停板,连续涨停板数量最多。
涨停股中,从收盘涨停板封单量来看,鑫科材料最受追捧,收盘涨停板封单有6142.92万股;其次是福田汽车、瑞康医药等,涨停板封单分别有3654.63万股、3625.13万股。以封单金额计算,德明利、阳光电源、大连电瓷等涨停板封单资金较多,分别有6.44亿元、3.69亿元、2.44亿元。

行业板块、概念方面看,汽车、电气设备、国防军工、农林牧渔、煤炭、机械设备、有色金属等行业板块涨幅靠前;储能、充电桩、无人驾驶、锂电池、钠离子电池等概念表现活跃。医药生物、纺织服装、食品饮料、石油石化、证券等行业板块跌幅居前。

攀钢钒钛今天涨停。盘后数据显示,1个机构出现在龙虎榜单上,净卖出1.19亿元;中信证券股份有限公司上海溧阳路证券营业部买入8275.32万元,同时卖出45.25万元;国泰君安证券股份有限公司上海江苏路证券营业部买入1301.25万元,同时卖出1.1亿元。

(来源:证券时报)
免责声明:本页所载内容来旨在分享更多信息,不代表九方智投观点,不构成投资建议。据此操作风险自担。投资有风险、入市需谨慎。
相关股票
相关板块
相关资讯
扫码下载
九方智投app
扫码关注
九方智投公众号
头条热搜
涨幅排行榜
暂无评论
赶快抢个沙发吧