16日资金路线图:龙虎榜机构抢筹9股
8月16日,上证指数、创业板指早盘探底回升,随后震荡回落,午后窄幅震荡;深证成指、科创50指数早盘探底回升,随后回落走低,午后低位窄幅震荡。截至收盘,上证指数报2879.43点,涨0.07%,成交额2436.08亿元;深证成指报8349.87点,跌0.24%,成交额3475.49亿元;创业板指报1591.46点,跌0.08%,成交额1756.81亿元;科创50指数报705.22点,跌0.33%,成交额326.8亿元。沪深两市合计成交5911.57亿元,成交额较上一交易日减少3.65亿元。
资金流向
1.主力资金
Wind统计显示,沪深两市主力资金今日净流出85.74亿元。其中,创业板主力资金净流出14.92亿元,沪深300成份股主力资金净流出29.06亿元,科创板主力资金净流出3.8亿元。
从行业来看,申万所属的31个一级行业,今日有5个行业主力资金呈现净流入,其中,电子行业主力资金净流入最多,净流入金额为7.37亿元;行业主力资金净流入居前的还有通信、有色金属,净流入金额分别为6.49亿元、2.2亿元。26个行业主力资金呈现净流出,其中,传媒行业主力资金净流出最多,净流出金额为12.05亿元;行业主力资金净流出靠前的还有非银金融、电力设备、国防军工、计算机、汽车,净流出金额分别为9.06亿元、8.35亿元、8.25亿元、8亿元、7.17亿元。

个股来看,今日有2100个股获主力资金净流入,其中,20股获主力资金净流入超1亿元。赛力斯主力资金净流入最多,净流入金额为6.66亿元;主力资金净流入居前的个股还有珂玛科技、力源信息、中际旭创、天孚通信、比亚迪,净流入金额分别为5.95亿元、4.91亿元、3.01亿元、2.34亿元、2.32亿元。

此外,2935只个股被主力资金净卖出,其中,26股被主力资金净卖出超1亿元。主力资金净流出最多的个股是金龙汽车,净流出金额为5.8亿元;主力资金净流出居前的个股还有上海贝岭、香雪制药、四维图新、启明信息、北汽蓝谷,净流出金额分别为2.52亿元、2.2亿元、2.19亿元、2.06亿元、1.93亿元。

2.北向资金
北向资金本周累计成交4332.93亿元,成交净卖出50.36亿元。其中,沪股通合计净买入20.85亿元,深股通合计净卖出71.21亿元。
从单日看,北向资金今日成交额为920.58亿元,成交净卖出67.75亿元。其中,沪股通净卖出25.68亿元,深股通净卖出42.07亿元。
活跃个股方面,北向资金今日净买入较多的有中国联通、赛力斯、农业银行、长江电力、平安银行,净买入金额分别为4.3亿元、3.39亿元、1.88亿元、1.74亿元、1.35亿元。北向资金净卖出较多的有比亚迪、宁德时代、美的集团,净卖出金额分别为2.06亿元、1.63亿元、0.76亿元。

3.龙虎榜机构资金动向
盘后龙虎榜数据显示,今日机构席位资金合计净卖出约1.06亿元。其中,净买入的个股9只,净卖出的个股14只。机构净买入最多的股票是真视通,净买入金额约2517.8万元;机构净买入的还有博士眼镜、金固股份等股。机构净卖出最多的股票是西藏天路,净卖出金额约6052.49万元;机构净卖出居前的还有珂玛科技、腾达科技、清研环境等股。

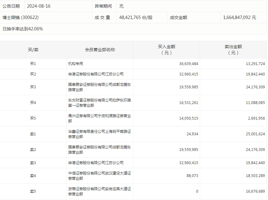
博士眼镜今天涨停。盘后数据显示,1家机构出现在龙虎榜单上,净买入2334.78万元;东方财富证券股份有限公司拉萨东环路第一证券营业部买入1653.13万元,同时卖出1108.81万元;华鑫证券有限责任公司上海宛平南路证券营业部买入2.49万元,同时卖出2500.16万元。

个股涨跌情况
截至收盘,沪深两市合计1576只个股上涨,3391只个股下跌,平盘个股122只,停牌的个股13只。不含当日上市新股,共有44只个股涨停,12只个股跌停。连续涨停天数看,亚世光电、博士眼镜均已连收4个涨停板,连续涨停板数量最多。
从收盘涨停板封单量来看,卓翼科技最受追捧,收盘涨停板封单有3748.38万股;其次是春兴精工、黄河旋风,涨停板封单分别有1737.3万股、1626.51万股。以封单金额计算,卓翼科技、汇中股份、真视通等涨停板封单资金较多,分别有1.71亿元、1.14亿元、0.95亿元。

行业板块、概念方面看,行业板块、概念跌多涨少。其中,通信、银行、医药生物、家电、电子等行业涨幅靠前;AI眼镜、铜缆高速连接、减肥药、PCB、纳米银、玻璃基板等概念走势活跃。农林牧渔、建筑材料、国防军工、房地产、轻工制造、贵金属、环保、传媒、纺织服装等行业跌幅居前;猪肉概念、地热能、民爆概念、租售同权、发电机、水产养殖、粮食概念、油气设服、装配装饰等概念走势较弱。涨停个股主要集中在医药生物、电子、计算机、家用电器、机械设备等行业。

免责声明:本页所载内容来旨在分享更多信息,不代表九方智投观点,不构成投资建议。据此操作风险自担。投资有风险、入市需谨慎。
相关股票
相关板块
相关资讯
扫码下载
九方智投app
扫码关注
九方智投公众号
头条热搜
涨幅排行榜
暂无评论
赶快抢个沙发吧