18日资金路线图:龙虎榜机构抢筹10股
10月18日,沪深两市股指涨跌互现,上证指数、科创50指数早盘高开后震荡走低,随后探底回升,午后再度回落翻绿;深证成指、创业板指早盘探底冲高,午后震荡回落,涨幅缩窄。截至收盘,上证指数报3080.96点,跌0.13%,成交额3260.03亿元;深证成指报11187.70点,涨0.23%,成交额4678.00亿元;创业板指报2446.93点,涨0.49%,成交额1575.92亿元;科创50指数报960.00点,跌0.33%,成交额591亿元。沪深两市合计成交7938.03亿元,成交额较上一交易日减少134.75亿元。
资金流向
1.主力资金
Wind统计显示,沪深两市主力资金今日净流出106.71亿元。其中,创业板主力资金净流出16.62亿元,沪深300成分股主力资金净流出13亿元,科创板主力资金净流入3.01亿元。
从行业板块来看,申万所属的28个一级行业,今日仅有电气设备、食品饮料、休闲服务、汽车4个行业板块主力资金呈现净流入,净流入金额分别为19.24亿元、3.79亿元、1.49亿元、0.28亿元。24个行业板块主力资金呈现净流出,其中,计算机行业板块主力资金净流出最多,净流出金额为20.54亿元;行业板块主力资金净流出靠前的还有化工、机械设备、电子、国防军工、有色金属,净流出金额分别为15.02亿元、14.93亿元、11.52亿元、9.98亿元、9.81亿元。

个股来看,今日有1817只个股获主力资金净流入,其中,20股获主力资金净流入超1亿元。比亚迪获主力资金净流入最多,净流入金额为5.99亿元;主力资金净流入居前的个股还有星环科技、贵州茅台、南都电源、阳光电源、华西能源,净流入金额分别为4.71亿元、3.62亿元、2.97亿元、2.83亿元、2.24亿元。

此外,2996只个股被主力资金净卖出,其中,31股被主力资金净卖出超1亿元。主力资金净流出最多的个股是九安医疗,净流出金额为6.9亿元;主力资金净流出居前的个股还有长安汽车、天齐锂业、中兵红箭、招商银行、万科A,净流出金额分别为3.5亿元、3.05亿元、2.48亿元、1.88亿元、1.71亿元。

2.北向资金
北向资金今日成交额为833.35亿元,成交净卖出37.57亿元,连续2个交易日净卖出。其中,沪股通净卖出19.28亿元,深股通净卖出18.29亿元。
活跃个股方面,北向资金净买入较多有比亚迪、恒瑞医药、药明康德、五粮液、爱尔眼科,净买入金额分别为4.04亿元、2.18亿元、0.89亿元、0.87亿元、0.8亿元。北向资金净卖出较多的有贵州茅台、中国平安、隆基绿能、伊利股份、中兵红箭,净卖出金额分别为8.64亿元、2.58亿元、2.11亿元、1.93亿元、1.75亿元。

3.龙虎榜机构资金动向
盘后龙虎榜数据显示,今日机构席位资金合计净卖出约1.41亿元。其中,净买入的个股10只,净卖出的个股13只。机构净买入最多的股票是科创信息,净买入金额约4838.85万元;机构净买入居前的还有国光电器、紫燕食品等股。机构净卖出最多的股票是申菱环境,净卖出金额约7104.64万元。机构净卖出居前的还有沧州大化、中兵红箭等股。

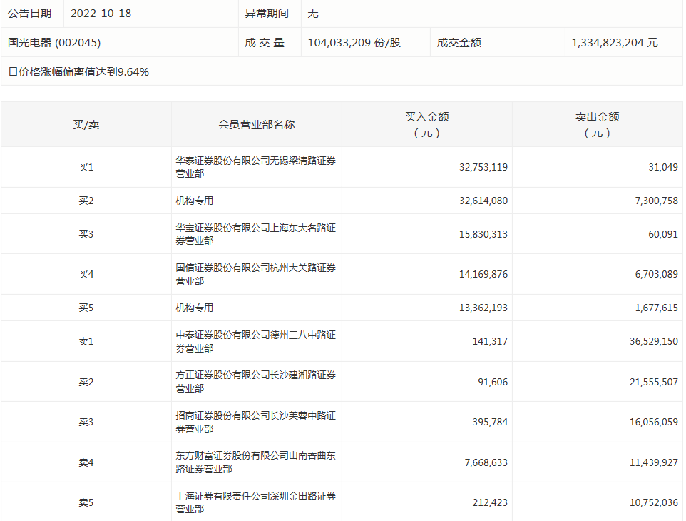
国光电器今天涨停。盘后数据显示,2个机构出现在龙虎榜单上,合计净买入3699.79万元;华泰证券股份有限公司无锡梁清路证券营业部买入3275.31万元,同时卖出3.1万元;中泰证券股份有限公司德州三八中路证券营业部买入14.13万元,同时卖出3652.92万元。

涨跌停个股
截至收盘,沪深两市合计2108只个股上涨,2513只个股下跌,平盘个股209只,停牌的个股8只。不含当日上市新股,共有77只个股涨停,4只个股跌停。连续涨停天数看,欧晶科技已连收8个涨停板,连续涨停板数量最多。
涨停股中,从收盘涨停板封单量来看,国脉科技最受追捧,收盘涨停板封单有4700.9万股;其次是万方发展、双成药业,涨停板封单分别有2922.26万股、2882.21万股。以封单金额计算,欧晶科技、国脉科技、万方发展等涨停板封单资金较多,分别有4.52亿元、4.4亿元、2.83亿元。

行业板块、概念方面看,行业板块涨多跌少,其中,医药生物、通信、汽车、环保、电气设备、物流等行业板块涨幅靠前;统一大市场、钠离子电池、储能、特高压、新冠药物、CRO、虚拟电厂等概念走势活跃。保险、房地产、计算机、食品饮料、燃气等行业板块跌幅居前;培育钻石、摄像头、光刻胶、租售同权、托育服务等概念走弱。涨停个股主要集中在医药生物、电子、机械设备、交通运输、计算机等行业。

(来源:证券时报)
免责声明:本页所载内容来旨在分享更多信息,不代表九方智投观点,不构成投资建议。据此操作风险自担。投资有风险、入市需谨慎。
相关股票
相关板块
相关资讯
扫码下载
九方智投app
扫码关注
九方智投公众号
头条热搜
涨幅排行榜
暂无评论
赶快抢个沙发吧