26日资金路线图:龙虎榜机构抢筹10股
3月26日,上证指数早盘一度上扬,随后震荡回落,午后探底回升;深证成指、创业板指早盘冲高回落,午后探底回升,尾盘有所回落;科创50指数早盘冲高回落,午后一度回升,尾盘再度回落。截至收盘,上证指数报3031.48点,涨0.17%,成交额3964.11亿元;深证成指报9449.43点,涨0.28%,成交额5596.18亿元;创业板指报1841.54点,涨0.44%,成交额2532.12亿元;科创50指数报772.09点,跌1.22%,成交额577.18亿元。沪深两市合计成交9560.29亿元,成交额较上一交易日减少874.05亿元。
资金流向
1.主力资金
Wind统计显示,沪深两市主力资金今日净流出246.01亿元。其中,创业板主力资金净流出86.85亿元,沪深300成份股主力资金净流出25.9亿元,科创板主力资金净流出11亿元。
从行业板块来看,申万所属的31个一级行业,今日有6个行业板块主力资金呈现净流入,其中,电力设备行业板块主力资金净流入最多,净流入金额为13.27亿元;行业板块主力资金净流入居前的还有银行、房地产,净流入金额分别为8.23亿元、5.37亿元。25个行业板块主力资金呈现净流出,其中,计算机行业板块主力资金净流出最多,净流出金额为62.79亿元;行业板块主力资金净流出靠前的还有传媒、电子、通信、机械设备、医药生物、有色金属,净流出金额分别为35.49亿元、33.11亿元、32.27亿元、18.87亿元、18.09亿元、16.54亿元。

个股来看,今日有1767只个股获主力资金净流入,其中,30股获主力资金净流入超1亿元。北斗星通主力资金净流入最多,净流入金额为5.83亿元;主力资金净流入居前的个股还有恒为科技、宁德时代、比亚迪、平安银行、立讯精密,流入金额分别为3.94亿元、3.58亿元、2.82亿元、2.81亿元、2.68亿元。

此外,3333只个股被主力资金净卖出,其中,56股被主力资金净卖出超1亿元。主力资金净流出最多的个股是赛力斯,净流出金额为10.78亿元;主力资金净流出居前的个股还有中科曙光、药明康德、中文在线、科大讯飞、光迅科技,净流出金额分别为8.23亿元、6.96亿元、4.42亿元、4.06亿元、3.96亿元。

2.北向资金
北向资金今日成交额为1404.32亿元,成交净买入47.25亿元,连续2个交易日净买入。其中,沪股通净买入22.52亿元,深股通净买入24.73亿元。
活跃个股方面,北向资金今日净买入较多的有招商银行、贵州茅台、美的集团、宁德时代、紫金矿业,净买入金额分别为5.46亿元、4.67亿元、3.85亿元、2.57亿元、2.48亿元。北向资金净卖出较多的有立讯精密、药明康德、迈瑞医疗,净卖出金额分别为2.43亿元、2.25亿元、1.75亿元。

3.龙虎榜机构资金动向
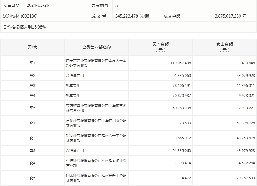
盘后龙虎榜数据显示,今日机构席位资金合计净卖出约2.39亿元。其中,净买入的个股10只,净卖出的个股13只。机构净买入最多的股票是沃尔核材,净买入金额约1.28亿元;机构净买入居前的还有天赐材料、中广天择、农尚环境等股。机构净卖出最多的股票是高新发展,净卖出金额约4.3亿元;机构净卖出居前的还有北斗星通、润建股份、读客文化等股。

沃尔核材今天涨3.53%。盘后数据显示,2个机构出现在龙虎榜单上,合计净买入1.28亿元;国泰君安证券股份有限公司南京太平南路证券营业部买入1.19亿元,同时卖出41.06万元;招商证券股份有限公司福州六一中路证券营业部买入368.5万元,同时卖出4325.37万元。

个股涨跌情况
截至收盘,沪深两市合计2468只个股上涨,2449只个股下跌,平盘个股189只,停牌的个股5只。不含当日上市新股,共有65只个股涨停,22只个股跌停。从连续涨停天数看,宁科生物已连收5个涨停板,连续涨停板数量最多。
从收盘涨停板封单量来看,宁科生物最受追捧,收盘涨停板封单有2990.66万股;其次是龙洲股份、青海华鼎,涨停板封单分别有2273.07万股、2106.64万股。以封单金额计算,龙洲股份、青海华鼎、天赐材料等涨停板封单资金较多,分别有1.23亿元、1.2亿元、1.19亿元。

从行业板块、概念方面看,行业板块、概念涨多跌少。其中,电力设备、银行、房地产、食品饮料、汽车、环保、保险等行业板块涨幅靠前;小米汽车、固态电池、氟化工、水产养殖、碳基材料、核污染防治、有机硅、租售同权等概念走势活跃。传媒、煤炭、教育、计算机、通信等行业板块跌幅居前;Kimi概念、AI语料、数据要素、算力概念、影视概念、网络游戏等概念走势较弱。涨停个股主要集中在电力设备、化工、汽车、机械设备、电子等行业。

免责声明:本页所载内容来旨在分享更多信息,不代表九方智投观点,不构成投资建议。据此操作风险自担。投资有风险、入市需谨慎。
相关股票
相关板块
相关资讯
扫码下载
九方智投app
扫码关注
九方智投公众号
头条热搜
涨幅排行榜
暂无评论
赶快抢个沙发吧