17日资金路线图:龙虎榜机构抢筹10股
2月17日,上证指数早盘冲高回落,午后一度回升,尾盘再度回落;深证成指、创业板指、科创50指数早盘震荡走低,午后持续下探。截至收盘,上证指数报3224.02点,跌0.77%,成交额3556.26亿元;深证成指报11715.77点,跌1.61%,成交额5584.94亿元;创业板指报2449.35点,跌2.51%,成交额2128.94亿元;科创50指数报986.33点,跌1.87%,成交额561亿元。沪深两市合计成交9141.2亿元,成交额较上一交易日减少2788.81亿元。
资金流向
1.主力资金
Wind统计显示,沪深两市主力资金今日净流出421.66亿元。其中,创业板主力资金净流出133.81亿元,沪深300成分股主力资金净流出126.29亿元,科创板主力资金净流出12.89亿元。
从行业板块来看,申万所属的31个一级行业,今日仅有医药生物、煤炭、石油石化、美容护理4个行业板块主力资金呈现净流入,净流入金额分别为3.91亿元、2.04亿元、0.76亿元、0.53亿元。27个行业板块主力资金呈现净流出,其中,计算机行业板块主力资金净流出最多,净流出金额为90.03亿元;行业板块主力资金净流出靠前的还有电子、电力设备、非银金融、通信、机械设备,净流出金额分别为75.13亿元、55.42亿元、30.99亿元、29.78亿元、23.31亿元。

个股来看,今日有1455只个股获主力资金净流入,其中,22股获主力资金净流入超1亿元。泸州老窖获主力资金净流入最多,净流入金额为4.26亿元;主力资金净流入居前的个股还有汤姆猫、新华制药、拓维信息、华胜天成、三一重工,净流入金额分别为3.46亿元、1.73亿元、1.67亿元、1.64亿元、1.49亿元。

此外,3458只个股被主力资金净卖出,其中,100股被主力资金净卖出超1亿元。主力资金净流出最多的个股是东方财富,净流出金额为6.12亿元;主力资金净流出居前的个股还有宁德时代、比亚迪、隆基绿能、天齐锂业、贵州茅台,净流出金额分别为5.44亿元、5.41亿元、5.12亿元、4.49亿元、4.19亿元。

2.北向资金
北向资金本周累计成交4827.01亿元,成交净买入82.51亿元。其中,沪股通合计净买入31.06亿元,深股通合计净买入51.45亿元。
从单日看,北向资金今日成交额为975.72亿元,成交净买入20.29亿元,连续2个交易日净买入。其中,沪股通净买入6.26亿元,深股通净买入14.03亿元。
活跃个股方面,北向资金今日净买入的有宁德时代、中国平安、隆基绿能、万华化学、紫金矿业,净买入金额分别为2.83亿元、1.37亿元、1.08亿元、0.83亿元、0.39亿元。北向资金净卖出较多的有贵州茅台、泸州老窖、以岭药业、比亚迪、五粮液,净卖出金额分别为4.67亿元、3.16亿元、2.73亿元、2.31亿元、1.81亿元。

3.龙虎榜机构资金动向
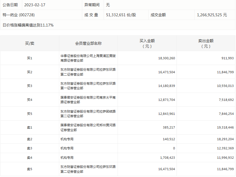
盘后龙虎榜数据显示,今日机构席位资金合计净卖出约1.52亿元。其中,净买入的个股10只,净卖出的个股12只。机构净买入最多的股票是川宁生物,净买入金额约8353.59万元;机构净买入居前的还有健之佳、华光环能、锦泓集团等股。机构净卖出最多的股票是中国软件,净卖出金额约2.43亿元;机构净卖出居前的还有特一药业、智微智能、鸿博股份等股。

特一药业今天涨停。盘后数据显示,3个机构出现在龙虎榜单上,合计净卖出约4083.36万元;华泰证券股份有限公司上海黄浦区黄陂南路证券营业部买入1830.03万元,同时卖出91.2万元;国泰君安证券股份有限公司郑州黄河路证券营业部买入38.52万元,同时卖出1931.84万元。

涨跌停个股
截至收盘,沪深两市合计1836只个股上涨,2862只个股下跌,平盘个股217只,停牌的个股6只。不含当日上市新股,共有33只个股涨停,7只个股跌停。连续涨停天数看,*ST西源已连收5个涨停板,连续涨停板数量最多。
涨停股中,从收盘涨停板封单量来看,青岛双星最受追捧,收盘涨停板封单有2580.27万股;其次是*ST西源、亿利达,涨停板封单分别有1694.48万股、1671.3万股。以封单金额计算,锐明技术、扬州金泉、坤泰股份等涨停板封单资金较多,分别有3.39亿元、1.76亿元、1.55亿元。


(来源:证券时报)
免责声明:本页所载内容来旨在分享更多信息,不代表九方智投观点,不构成投资建议。据此操作风险自担。投资有风险、入市需谨慎。
相关股票
相关板块
相关资讯
扫码下载
九方智投app
扫码关注
九方智投公众号
头条热搜
涨幅排行榜
暂无评论
赶快抢个沙发吧