6日资金路线图:龙虎榜机构抢筹5股
3月6日,上证指数早盘震荡走低,午盘快速回升,午后再度回落;深证成指、创业板指、科创50指数早盘探底回升,午后震荡回落。截至收盘,上证指数报3039.93点,跌0.26%,成交额4013.35亿元;深证成指报9395.65点,跌0.22%,成交额5304.48亿元;创业板指报1832.58点,跌0.06%,成交额2272.01亿元;科创50指数报811.90点,跌0.72%,成交额587.8亿元。沪深两市合计成交9317.83亿元,成交额较上一交易日减少1352.67亿元。
资金流向
1.主力资金
Wind统计显示,沪深两市主力资金今日净流出101.15亿元。其中,创业板主力资金净流出25.35亿元,沪深300成份股主力资金净流出32.91亿元,科创板主力资金净流出8.68亿元。
从行业板块来看,申万所属的31个一级行业,今日有8个行业板块主力资金呈现净流入,其中,电力设备行业板块主力资金净流入最多,净流入金额为32.02亿元;行业板块主力资金净流入居前的还有机械设备、公用事业、轻工制造,净流入金额分别为12.51亿元、5.34亿元、2.23亿元。23个行业板块主力资金呈现净流出,其中,电子行业板块主力资金净流出最多,净流出金额为31.32亿元;行业板块主力资金净流出靠前的还有传媒、计算机、医药生物、银行、通信,净流出金额分别为27.1亿元、21.32亿元、11.48亿元、8.99亿元、8.35亿元。

个股来看,今日有2202只个股获主力资金净流入,其中,26股获主力资金净流入超1亿元。中科曙光主力资金净流入最多,净流入金额为5.26亿元;主力资金净流入居前的个股还有赛力斯、紫金矿业、特变电工、光迅科技、宁德时代,流入金额分别为4.78亿元、3.57亿元、3.51亿元、3.06亿元、2.6亿元。

此外,2891只个股被主力资金净卖出,其中,48股被主力资金净卖出超1亿元。主力资金净流出最多的个股是高新发展,净流出金额为6.18亿元;主力资金净流出居前的个股还有长电科技、大华股份、中际旭创、张江高科、浪潮信息,净流出金额分别为4.76亿元、3.67亿元、3.26亿元、2.93亿元、2.86亿元。

2.北向资金
北向资金今日成交额为1364.52亿元,成交净卖出14.6亿元。其中,沪股通净卖出1.25亿元,深股通净卖出13.35亿元。
活跃个股方面,北向资金今日净买入较多的有长江电力、赛力斯、浪潮信息、隆基绿能、长电科技,净买入金额分别为2.6亿元、1.48亿元、1.19亿元、0.44亿元、0.26亿元。北向资金净卖出较多的有贵州茅台、宁德时代、立讯精密、中兴通讯、长安汽车,净卖出金额分别为5.19亿元、2.83亿元、1.97亿元、1.54亿元、1.48亿元。

3.龙虎榜机构资金动向
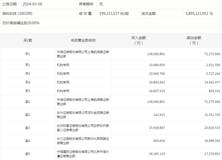
盘后龙虎榜数据显示,今日机构席位资金合计净买入约1.02亿元。其中,净买入的个股5只,净卖出的个股9只。机构净买入最多的股票是高新发展,净买入金额约9445.91万元;机构净买入居前的还有荣科科技、天顺风能等股。机构净卖出最多的股票是四川九洲,净卖出金额约2950.5万元;机构净卖出居前的还有惠柏新材、真视通、东方精工等股。

荣科科技今天涨停。盘后数据显示,4个机构出现在龙虎榜榜单上,合计净买入6703.61万元;东兴证券股份有限公司深圳金田路证券营业部买入14.24万元,同时卖出2145.23万元;中信建投证券股份有限公司北京中信大厦证券营业部买入1818.51万元,同时卖出1723.99万元。

个股涨跌情况
截至收盘,沪深两市合计3233只个股上涨,1705只个股下跌,平盘个股164只,停牌的个股6只。不含当日上市新股,共有104只个股涨停,4只个股跌停。连续涨停天数看,连续涨停天数超过2天的个股有18只。其中,安奈儿已连收7个涨停板,连续涨停板数量最多。
从收盘涨停板封单量来看,华西能源最受追捧,收盘涨停板封单有4609.65万股;其次是红宝丽、华阳新材,涨停板封单分别有3207.3万股、1819.78万股。以封单金额计算,安奈儿、天奇股份、海汽集团等涨停板封单资金较多,分别有2.49亿元、2.12亿元、1.95亿元。

行业板块、概念方面看,行业板块、概念涨多跌少。其中,电力设备、机械设备、环保、燃气、纺织服装、轻工制造、教育、有色金属等行业板块涨幅靠前;减速器、培育钻石、噪音防治、新型工业化、BC电池、工业母机、PEEK材料概念、储能、特高压等概念走势活跃。食品饮料、保险、传媒、银行、医药生物等行业板块跌幅居前;Sora概念、短剧互动游戏、广电、AI手机、影视概念、创新药等概念走势较弱。涨停个股主要集中在机械设备、电力设备、电子、纺织服装、化工等行业。

免责声明:本页所载内容来旨在分享更多信息,不代表九方智投观点,不构成投资建议。据此操作风险自担。投资有风险、入市需谨慎。
相关股票
相关板块
相关资讯
扫码下载
九方智投app
扫码关注
九方智投公众号
头条热搜
涨幅排行榜
暂无评论
赶快抢个沙发吧