3日资金路线图:龙虎榜机构抢筹12股
6月3日,上证指数、深证成指早盘探底回升,随后震荡回落,午后持续走低,尾盘再度回升;创业板指、科创50指数早盘冲高回落,午后一度回升,随后再度回落,尾盘震荡回升。截至收盘,上证指数报3078.49点,跌0.27%,成交额3676.08亿元;深证成指报9370.50点,涨0.07%,成交额4630.9亿元;创业板指报1819.46点,涨0.79%,成交额2158.2亿元;科创50指数报750.43点,涨0.97%,成交额608.02亿元。沪深两市合计成交8306.98亿元,成交额较上一交易日增加1157.39亿元。
资金流向
1.主力资金
Wind统计显示,沪深两市主力资金今日净流出231.4亿元。其中,创业板主力资金净流出74.38亿元,沪深300成份股主力资金净流出18.28亿元,科创板主力资金净流出0.5亿元。
从行业来看,申万所属的31个一级行业,今日仅有通信1个行业主力资金呈现净流入,净流入金额为3.39亿元;30个行业主力资金呈现净流出,其中,有色金属行业主力资金净流出最多,净流出金额为26.86亿元;行业主力资金净流出靠前的还有电力设备、医药生物、化工、机械设备、计算机,净流出金额分别为23.37亿元、21.1亿元、18.79亿元、18.31亿元、16.73亿元。

个股来看,今日有1616只个股获主力资金净流入,其中,14股获主力资金净流入超1亿元。工业富联主力资金净流入最多,净流入金额为2.77亿元;主力资金净流入居前的个股还有万润科技、比亚迪、神宇股份、沪电股份、永辉超市,净流入金额分别为2.74亿元、2.17亿元、1.94亿元、1.86亿元、1.78亿元。

此外,3461只个股被主力资金净卖出,其中,34股被主力资金净卖出超1亿元。主力资金净流出最多的个股是天银机电,净流出金额为3.06亿元;主力资金净流出居前的个股还有兴齐眼药、航天晨光、北汽蓝谷、长安汽车、湖南黄金,净流出金额分别为2.54亿元、2.54亿元、2.25亿元、2.24亿元、1.96亿元。

2.北向资金
北向资金今日成交额为1366.51亿元,成交净买入15.39亿元。其中,沪股通净买入12.62亿元,深股通净买入2.77亿元。
活跃个股方面,北向资金今日净买入较多的有长江电力、中国核电、晶科能源、宁德时代、佰维存储,净买入金额分别为6.96亿元、6.19亿元、5.14亿元、5.12亿元、5.11亿元。北向资金净卖出较多的有江苏银行、贵州茅台、美的集团、天孚通信、汇川技术,净卖出金额分别为7.54亿元、4.68亿元、2.73亿元、2.26亿元、2.05亿元。

3.龙虎榜机构资金动向
盘后龙虎榜数据显示,今日机构席位资金合计净卖出约1.23亿元。其中,净买入的个股12只,净卖出的个股14只。机构净买入最多的股票是朗源股份,净买入金额约3298.79万元;机构净买入居前的还有神宇股份、万润科技、正虹科技等股。机构净卖出最多的股票是斯菱股份,净卖出金额约1.62亿元;机构净卖出居前的还有春秋电子、亿道信息等股。

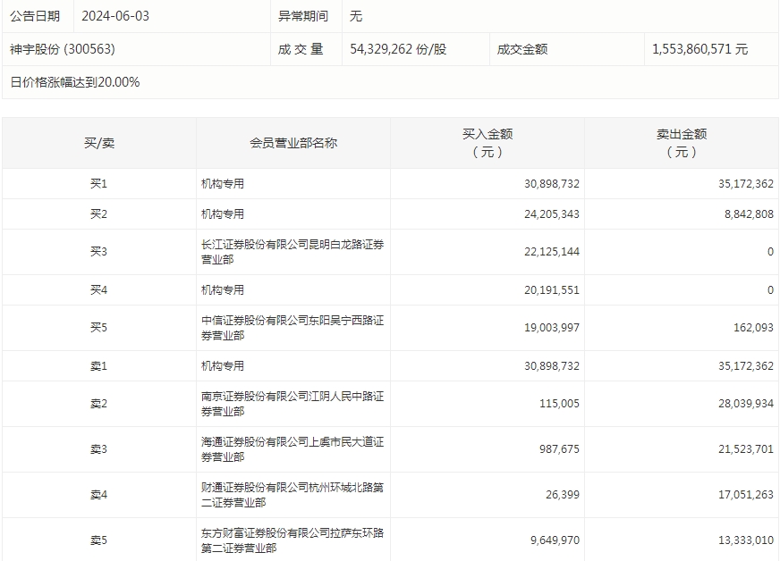
神宇股份今天涨停。盘后数据显示,4家机构出现在龙虎榜单上,合计净买入2700.68万元;中信证券股份有限公司东阳吴宁西路证券营业部买入1900.4万元,同时卖出16.21万元;南京证券股份有限公司江阴人民中路证券营业部买入11.5万元,同时卖出2803.99万元。

个股涨跌情况
截至收盘,沪深两市合计881只个股上涨,4180只个股下跌,平盘个股30只,停牌的个股24只。不含当日上市新股,共有24只个股涨停,116只个股跌停。连续涨停天数看,西测测试、申华控股、贵广网络、ST红太阳、*ST东园、ST雪发均已连收3个涨停板,连续涨停板数量最多。
从收盘涨停板封单量来看,永辉超市最受追捧,收盘涨停板封单有2644.17万股;其次是正虹科技、申华控股,涨停板封单分别有2192.65万股、1438.69万股。以封单金额计算,万润科技、正虹科技、逸豪新材等涨停板封单资金较多,分别有1.35亿元、1.21亿元、0.97亿元。

行业板块、概念方面看,行业板块、概念跌多涨少。其中,通信、电子、家电等行业涨幅靠前;铜缆高速连接、存储芯片、猪肉概念、PCB、光通信模块等概念走势活跃。钢铁、有色金属、教育、环保、轻工制造、纺织服装、化工、房地产等行业跌幅居前;全息技术、工业大麻、有机硅、纳米银、AI制药、复合集流体、黄金概念、汽车拆解、医疗美容等概念走势较弱。涨停个股主要集中在电子、化工、传媒等行业。

免责声明:本页所载内容来旨在分享更多信息,不代表九方智投观点,不构成投资建议。据此操作风险自担。投资有风险、入市需谨慎。
推荐阅读
相关股票
相关板块
相关资讯
扫码下载
九方智投app
扫码关注
九方智投公众号
头条热搜
涨幅排行榜
暂无评论
赶快抢个沙发吧