3日资金路线图:龙虎榜机构抢筹11股
7月3日(7月首个交易日),沪深两市股指迎“开门红”,集体上涨,上证指数早盘高开高走,午后持续上扬;深证成指、创业板指早盘冲高回落,随后震荡攀升,午后有所回落;科创50指数早盘冲高回落,之后再度上扬,午后震荡回落,涨幅缩窄。截至收盘,上证指数报3243.98点,涨1.31%,成交额4213.53亿元;深证成指报11091.56点,涨0.59%,成交额6032.32亿元;创业板指报2228.21点,涨0.6%,成交额2521.27亿元;科创50指数报1008.40点,涨0.32%,成交额850.11亿元。沪深两市合计成交10245.85亿元,成交额较上一交易日增加1059.63亿元,重返万亿元上方。
资金流向
1.主力资金
wind统计显示,沪深两市主力资金今日净流出71亿元。其中,创业板主力资金净流出64.16亿元,沪深300成分股主力资金净流入28.28亿元,科创板主力资金净流出1.28亿元。
从行业板块来看,申万所属的31个一级行业,今日有15个行业板块主力资金呈现净流入,其中,汽车行业板块主力资金净流入最多,净流入金额17.66亿元;行业板块主力资金净流入居前的还有食品饮料、非银金融、银行、建筑装饰、公用事业,净流入金额分别为14.4亿元、8.82亿元、7.39亿元、4.15亿元、4.01亿元。16个行业板块主力资金呈现净流出,其中,传媒行业板块主力资金净流出最多,净流出金额为47.45亿元;行业板块主力资金净流出靠前的还有计算机、机械设备、通信、化工、电子,净流出金额分别为25.85亿元、24.73亿元、13.01亿元、9.76亿元、5.62亿元。

个股来看,今日有2043只个股获主力资金净流入,其中,49股获主力资金净流入超1亿元。长安汽车获主力资金净流入最多,净流入金额为10.62亿元;主力资金净流入居前的个股还有立讯精密、歌尔股份、中国软件、赛力斯、五粮液,净流入金额分别为7.16亿元、5.53亿元、5.15亿元、3.87亿元、3.61亿元。

此外,2950只个股被主力资金净卖出,其中,60股被主力资金净卖出超1亿元。主力资金净流出最多的个股是科大讯飞,净流出金额为7.55亿元;主力资金净流出居前的个股还有掌趣科技、华西股份、神州泰岳、浪潮信息、世纪华通,净流出金额分别为6.6亿元、6.26亿元、5亿元、4.66亿元、4.54亿元。

2.北向资金
北向资金今日成交额为1247.17亿元,成交净买入26.85亿元。其中,沪股通净买入18.66亿元,深股通净买入8.19亿元。
活跃个股方面,北向资金今日净买入较多的有宁德时代、比亚迪、中际旭创、中国中免、阳光电源,净买入金额分别为4.49亿元、3.8亿元、3.63亿元、3.29亿元、2.6亿元。北向资金净卖出较多的有立讯精密、中国船舶、三花智控、北方华创、人民网,净卖出金额分别为5.04亿元、2.76亿元、2.43亿元、1.76亿元、0.94亿元。

3.龙虎榜机构资金动向
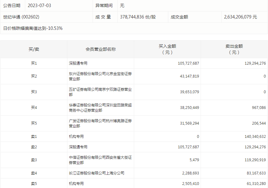
盘后龙虎榜数据显示,今日机构席位资金合计净卖出约2.91亿元。其中,净买入的个股11只,净卖出的个股22只。机构净买入最多的股票是巨轮智能,净买入金额约3.42亿元;机构净买入居前的还有上能电气、华峰铝业等股。机构净卖出最多的股票是世纪华通,净卖出金额约1.99亿元;机构净卖出居前的还有华西股份、环旭电子、久远银海、中大力德、卫宁健康等股。

世纪华通今天跌停。盘后数据显示,2个机构出现在龙虎榜单上,合计净卖出约1.99亿元;东兴证券股份有限公司北京金宝街证券营业部买入4314.78万元;华泰证券股份有限公司深圳益田路荣超商务中心证券营业部买入3825.04万元,同时卖出96.71万元;中信证券股份有限公司西安朱雀大街证券营业部卖出1.19亿元。

涨跌停个股
截至收盘,沪深两市合计3069只个股上涨,1787只个股下跌,平盘个股146只,停牌的个股18只。不含当日上市新股,共有59只个股涨停,13只个股跌停。连续涨停天数看,*ST全新已连收6个涨停板,连续涨停板数量最多。
从收盘涨停板封单量来看,金科股份最受追捧,收盘涨停板封单有7399.35万股;其次是众泰汽车、林州重机,涨停板封单分别有3980.09万股、3855.58万股。以封单金额计算,赛力斯、林州重机、中国软件等涨停板封单资金较多,分别有1.9亿元、1.77亿元、1.58亿元。

行业板块、概念方面看,行业板块涨多跌少。其中,保险、交通运输、证券、食品饮料、石油石化、煤炭、商贸零售、银行、有色金属、汽车等行业板块涨幅靠前;在线旅游、地摊经济、低碳冶金、民爆概念、海洋经济、复合集流体、赛马概念、免税概念、白酒、可燃冰等概念走势活跃。传媒、机械设备、计算机、通信、医药生物等行业板块跌幅居前;网络游戏、人脑工程、减速器、光通信模块、工业母机、6G概念等概念走势较弱。涨停个股主要集中在汽车、化工、电力设备、建筑装饰、纺织服装等行业。

(来源:证券时报)
免责声明:本页所载内容来旨在分享更多信息,不代表九方智投观点,不构成投资建议。据此操作风险自担。投资有风险、入市需谨慎。
推荐阅读
相关股票
相关板块
相关资讯
扫码下载
九方智投app
扫码关注
九方智投公众号
头条热搜
涨幅排行榜
暂无评论
赶快抢个沙发吧