20日资金路线图:龙虎榜机构抢筹8股
9月20日,截至收盘,上证指数报3108.57点,跌0.52%,成交额2430.2亿元;深证成指报10072.46点,跌0.53%,成交额3302.43亿元;创业板指报1987.30点,跌0.77%,成交额1468.55亿元;科创50指数报866.02点,跌0.87%,成交额367.78亿元。沪深两市合计成交5732.63亿元,成交额较上一交易日减少617.02亿元。
资金流向
1.主力资金
Wind统计显示,沪深两市主力资金今日净流出133.09亿元。其中,创业板主力资金净流出30.28亿元,沪深300成分股主力资金净流出30.53亿元,科创板主力资金净流出2.98亿元。
从行业板块来看,申万所属的31个一级行业,今日仅有机械设备、建筑材料、医药生物、通信4个行业板块主力资金呈现净流入,净流入金额分别为1.32亿元、0.87亿元、0.57亿元、0.48亿元。27个行业板块主力资金呈现净流出,其中,汽车行业板块主力资金净流出最多,净流出金额为12.66亿元;行业板块主力资金净流出靠前的还有传媒、电力设备、电子、有色金属、交通运输,净流出金额分别为12.13亿元、11.66亿元、11.26亿元、9.46亿元、7.44亿元。

个股来看,今日有1739个股获主力资金净流入,其中,19股获主力资金净流入超1亿元。拓维信息获主力资金净流入最多,净流入金额为6.47亿元;主力资金净流入居前的个股还有翰宇药业、万润科技、剑桥科技、崇德科技、捷荣技术,流入金额分别为4.51亿元、4.15亿元、3.42亿元、2.41亿元、2.38亿元。

此外,3290只个股被主力资金净卖出,其中,26股被主力资金净卖出超1亿元。主力资金净流出最多的个股是长安汽车,净流出金额为2.2亿元主力资金净流出居前的个股还有中核钛白、人民网、鸿博股份、天齐锂业、赛力斯,净流出金额分别为2.11亿元、2.11亿元、1.89亿元、1.69亿元、1.68亿元。

2.北向资金
北向资金今日成交额为758.31亿元,成交净卖出35.4亿元。其中,沪股通净卖出13.72亿元,深股通净卖出21.68亿元。
活跃个股方面,北向资金今日净买入较多的有赛力斯、美的集团、工商银行、格力电器、药明康德,净买入金额分别为2.18亿元、2.17亿元、1.92亿元、1.45亿元、0.42亿元。北向资金净卖出较多的有贵州茅台、伊利股份、迈瑞医疗、中国中免、平安银行,净卖出金额分别为2.72亿元、2.46亿元、1.89亿元、1.86亿元、1.66亿元。

3.龙虎榜机构资金动向
盘后龙虎榜数据显示,今日机构席位资金合计净买入约8882.93万元。其中,净买入的个股8只,净卖出的个股10只。机构净买入最多的股票是德迈仕,净买入金额约7482.26万元;机构净买入居前的还有万润科技、金凯生科、广信材料等股。机构净卖出最多的股票是翰宇药业,净卖出金额约2949.12万元;机构净卖出居前的还有德展健康、崇德科技、长青科技等股。

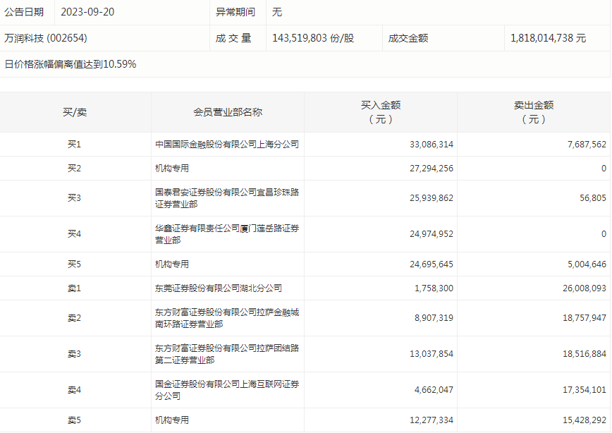
万润科技今天涨停。盘后数据显示,3个机构出现在龙虎榜单上,合计净买入4383.43万元;中国国际金融股份有限公司上海分公司买入3308.63万元,同时卖出768.76万元。东莞证券股份有限公司湖北分公司买入175.83万元,同时卖出2600.81万元。

涨跌停个股
截至收盘,沪深两市合计1064只个股上涨,3816只个股下跌,平盘个股177只,停牌的个股3只。不含当日上市新股,共有39只个股涨停,14只个股跌停。连续涨停天数看,*ST西发已连收8个涨停板,连续涨停板数量最多。
从收盘涨停板封单量来看,德展健康最受追捧,收盘涨停板封单有3823.81万股;其次是罗普斯金、万润科技,涨停板封单分别有3256.82万股、1237.47万股。以封单金额计算,罗普斯金、万润科技、翰宇药业等涨停板封单资金较多,分别有2.43亿元、1.62亿元、1.59亿元。

行业板块、概念方面看,行业板块跌多涨少。其中,农林牧渔、家电、银行、建筑材料等行业板块涨幅靠前;减肥药、水产养殖、人脑工程、鸡肉概念、数据安全等概念走势活跃。电力设备、汽车、电子、商贸零售、军工、有色金属、传媒、环保、教育等行业板块跌幅居;星闪概念、培育钻石、在线旅游、汽车一体化压铸、民爆概念、电子竞技、毫米波概念、彩票概念、稀土永磁等概念走势较弱。涨停个股主要集中在机械设备、医药生物、电子等行业。

(来源:证券时报)
免责声明:本页所载内容来旨在分享更多信息,不代表九方智投观点,不构成投资建议。据此操作风险自担。投资有风险、入市需谨慎。
推荐阅读
相关股票
相关板块
相关资讯
扫码下载
九方智投app
扫码关注
九方智投公众号
头条热搜
涨幅排行榜
暂无评论
赶快抢个沙发吧