14日资金路线图:龙虎榜机构抢筹11股
11月14日,上证指数、科创50指数早盘冲高回落,午后震荡回升;深证成指早盘冲高回落,午后窄幅震荡,尾盘小幅拉升;创业板指早盘冲高回落,午后持续走低。截至收盘,上证指数报3056.07点,涨0.31%,成交额3582.5亿元;深证成指报10005.56点,涨0.17%,成交额5352.39亿元;创业板指报2004.81点,跌0.22%,成交额2562.62亿元;科创50指数报904.34点,涨0.87%,成交额713.84亿元。沪深两市合计成交8934.89亿元,成交额较上一交易日增加249.07亿元。
资金流向
1.主力资金
Wind统计显示,沪深两市主力资金今日净流出88.67亿元。其中,创业板主力资金净流出50.93亿元,沪深300成分股主力资金净流出25.14亿元,科创板主力资金净流入0.15亿元。
从行业板块来看,申万所属的31个一级行业,今日有8个行业板块主力资金呈现净流入,其中,非银金融行业板块主力资金净流入最多,净流入金额9.54亿元;行业板块主力资金净流入居前的还有电子、汽车、食品饮料,净流入金额分别为9.5亿元、3.17亿元、1.48亿元。23个行业板块主力资金呈现净流出,其中,电力设备行业板块主力资金净流出最多,净流出金额为20.8亿元;行业板块主力资金净流出靠前的还有传媒、计算机、国防军工、有色金属、化工,净流出金额分别为12.39亿元、11.49亿元、10.89亿元、9亿元、7.62亿元。

个股来看,今日有1957个股获主力资金净流入,其中,30股获主力资金净流入超1亿元。万润科技获主力资金净流入最多,净流入金额为8.44亿元;主力资金净流入居前的个股还有长安汽车、华映科技、中金公司、福晶科技、中科金财,流入金额分别为3.6亿元、3.57亿元、3.41亿元、3.4亿元、2.53亿元。

此外,3111只个股被主力资金净卖出,其中,34股被主力资金净卖出超1亿元。主力资金净流出最多的个股是软通动力,净流出金额为9.03亿元;主力资金净流出居前的个股还有宁德时代、润和软件、隆基绿能、方正证券、中兴通讯,净流出金额分别为4.18亿元、4.1亿元、4.06亿元、3.7亿元、3.19亿元。

2.北向资金
北向资金今日成交额为1052.16亿元,成交净卖出21.09亿元,连续6个交易日净卖出。其中,沪股通净卖出16.84亿元,深股通净卖出4.25亿元。
活跃个股方面,北向资金今日净买入较多的有中际旭创、迈瑞医疗、软通动力、药明康德、赛力斯,净买入金额分别为1.45亿元、1.33亿元、1.31亿元、0.72亿元、0.39亿元。北向资金净卖出较多的有中国平安、长江电力、兴业银行、东方财富、工业富联,净卖出金额分别为5.11亿元、2.65亿元、2.21亿元、2.15亿元、1.82亿元。

3.龙虎榜机构资金动向
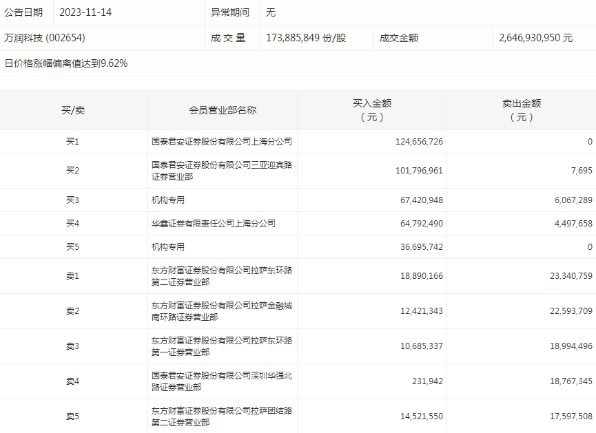
盘后龙虎榜数据显示,今日机构席位资金合计净买入约2.39亿元。其中,净买入的个股11只,净卖出的个股7只。机构净买入最多的股票是万润科技,净买入金额约9804.94万元;机构净买入居前的还有通化金马、思特奇、赛维时代等股。机构净卖出最多的股票是三联锻造,净卖出金额约2466.22万元;机构净卖出居前的还有彩蝶实业、福晶科技等股。

万润科技今天涨停。盘后数据显示,2个机构出现在龙虎榜单上,合计净买入9804.94万元;国泰君安证券股份有限公司三亚迎宾路证券营业部买入1.02亿元,同时卖出0.77万元;华鑫证券有限责任公司上海分公司买入6479.25万元,同时卖出449.77万元。

涨跌停个股
截至收盘,沪深两市合计2831个股上涨,1972只个股下跌,平盘个股271只,停牌的个股3只。不含当日上市新股,共有45只个股涨停,5只个股跌停。连续涨停天数看,皇庭国际、豪美新材均已连收6个涨停板,连续涨停板数量最多。
从收盘涨停板封单量来看,华映科技最受追捧,收盘涨停板封单有3830.72万股;其次是皇庭国际、ST大集,涨停板封单分别有3303.71万股、3037.83万股。以封单金额计算,传智教育、龙高股份、汇纳科技等涨停板封单资金较多,分别有4.2亿元、3.49亿元、2.56亿元。

行业板块、概念方面看,行业板块涨多跌少。其中,计算机、房地产、证券、电子、教育、通信、汽车、军工、建筑材料等行业板块涨幅靠前;AI芯片、算力概念、数据要素、信创、激光雷达、数字货币、国资云概念、星闪概念、机器视觉、车联网等概念走势活跃。煤炭、钢铁、燃气、电力设备、化工等行业板块跌幅居;刀片电池、钛白粉、蒙脱石散、磷化工、工业气体、调味品概念等概念走势较弱。涨停个股主要集中在计算机、电子、汽车、机械设备、纺织服装等行业。

(来源:证券时报)
免责声明:本页所载内容来旨在分享更多信息,不代表九方智投观点,不构成投资建议。据此操作风险自担。投资有风险、入市需谨慎。
推荐阅读
相关股票
相关板块
相关资讯
扫码下载
九方智投app
扫码关注
九方智投公众号
头条热搜
涨幅排行榜
暂无评论
赶快抢个沙发吧