8日资金路线图:龙虎榜机构抢筹9股
9月8日,上证指数、深证成指、创业板指早盘低开低走,午后探底回升,尾盘有所回落;科创50指数早盘探底回升,随后快速回落,午后再度回升,之后再度回落。截至收盘,上证指数报3116.72点,跌0.18%,成交额2700.07亿元;深证成指报10281.88点,跌0.38%,成交额4118.03亿元;创业板指报2049.77点,跌0.35%,成交额2172.55亿元;科创50指数报901.51点,涨0.19%,成交额582.16亿元。沪深两市合计成交6818.1亿元,成交额较上一交易日减少850.25亿元。
资金流向
1.主力资金
Wind统计显示,沪深两市主力资金今日净流出83.99亿元。其中,创业板主力资金净流出38.47亿元,沪深300成分股主力资金净流出38.79亿元,科创板主力资金净流入3.21亿元。
从行业板块来看,申万所属的31个一级行业,今日有9个行业板块主力资金呈现净流入,其中,国防军工行业板块主力资金净流入最多,净流入金额17.29亿元;行业板块主力资金净流入居前的还有机械设备、公用事业、家用电器,净流入金额分别为6.19亿元、5.1亿元、4.23亿元。22个行业板块主力资金呈现净流出,其中,传媒行业板块主力资金净流出最多,净流出金额为27.07亿元;行业板块主力资金净流出靠前的还有电力设备、计算机、食品饮料、煤炭、建筑装饰,净流出金额分别为20.5亿元、19.09亿元、5.36亿元、5.21亿元、5.11亿元。

个股来看,今日有1957个股获主力资金净流入,其中,27股获主力资金净流入超1亿元。中巨芯获主力资金净流入最多,净流入金额为8.08亿元;主力资金净流入居前的个股还有中国卫通、浙江世宝、海格通信、蓝英装备、高鸿股份,流入金额分别为5.14亿元、4.39亿元、3.82亿元、2.24亿元、2.2亿元。

此外,3072只个股被主力资金净卖出,其中,33股被主力资金净卖出超1亿元。主力资金净流出最多的个股是科大讯飞,净流出金额为3.04亿元;主力资金净流出居前的个股还有星星科技、阳光电源、浪潮信息、昆仑万维、英飞拓,净流出金额分别为2.96亿元、2.82亿元、2.63亿元、2.35亿元、2.32亿元。

2.北向资金
香港交易及结算所有限公司(香港交易所)宣布,由于黑色暴雨警告仍然持续及香港政府宣布极端情况生效,今天(星期五)的证券及衍生产品市场全日暂停交易,包括收市后交易时段。所有证券结算及交收服务今天亦暂停。沪深股通今天亦暂停。
3.龙虎榜机构资金动向
盘后龙虎榜数据显示,今日机构席位资金合计净卖出约4.18亿元。其中,净买入的个股9只,净卖出的个股17只。机构净买入最多的股票是跃岭股份,净买入金额约4671.91万元;机构净买入的居前还有东方时尚、威力传动、创耀科技等股。机构净卖出最多的股票是海格通信,净卖出金额约8242.29万元;机构净卖出居前的还有中富电路、奥普光电、广信材料、蓝箭电子、同飞股份等股。

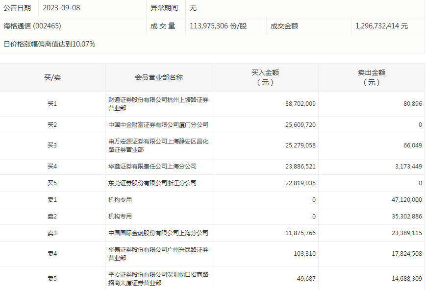
海格通信今天涨停。盘后数据显示,2个机构出现在龙虎榜单上,合计净卖出8242.29万元;财通证券股份有限公司杭州上塘路证券营业部买入3870.2万元,同时卖出8.09万元;中国国际金融股份有限公司上海分公司买入1187.58万元,同时卖出2338.91万元。

涨跌停个股
截至收盘,沪深两市合计2638只个股上涨,2150只个股下跌,平盘个股264只,停牌的个股2只。不含当日上市新股,共有45只个股涨停,5只个股跌停。连续涨停天数看,华映科技已连收5个涨停板,连续涨停板数量最多。
从收盘涨停板封单量来看,华映科技最受追捧,收盘涨停板封单有4674.88万股;其次是康盛股份、顺威股份,涨停板封单分别有3981.62万股、2869.62万股。以封单金额计算,张江高科、海格通信、冠石科技等涨停板封单资金较多,分别有4.89亿元、2.42亿元、1.82亿元。

行业板块、概念方面看,行业板块跌多涨少。其中,国防军工、电子、公用事业、机械设备、通信、贵金属等行业板块涨幅靠前;天基互联、北斗导航、毫米波概念、无人机、激光雷达、OLED、半导体等概念走势活跃。传媒、煤炭、教育、石油石化、美容护理、电力设备、食品饮料、钢铁等行业板块跌幅居;数字阅读、盲盒经济、网络游戏、租售同权、BC电池、知识产权、水产养殖、数据确权等概念走势较弱。涨停个股主要集中在电子、家用电器、机械设备、化工、国防军工等行业。

(来源:证券时报)
免责声明:本页所载内容来旨在分享更多信息,不代表九方智投观点,不构成投资建议。据此操作风险自担。投资有风险、入市需谨慎。
推荐阅读
相关股票
相关板块
相关资讯
扫码下载
九方智投app
扫码关注
九方智投公众号
头条热搜
涨幅排行榜
暂无评论
赶快抢个沙发吧