28日资金路线图:龙虎榜机构抢筹11股
10月28日,上证指数、深证成指、创业板指早盘震荡下探,午后持续走低,跌幅进一步扩大;科创50指数早盘冲高回落,随后窄幅震荡,午后震荡下探。截至收盘,上证指数报2915.93点,跌2.25%,成交额3852.61亿元;深证成指报10401.84点,跌3.24%,成交额5243.97亿元;创业板指报2250.51点,跌3.71%,成交额1904.84亿元;科创50指数报993.72点,跌1.11%,成交额708亿元。沪深两市合计成交9096.58亿元,成交额较上一交易日减少142.51亿元。
资金流向
1.主力资金
Wind统计显示,沪深两市主力资金今日净流出521.61亿元。其中,创业板主力资金净流出114.57亿元,沪深300成分股主力资金净流出162.55亿元,科创板主力资金净流出18.35亿元。
从行业板块来看,申万所属的28个一级行业,今日所有行业板块主力资金都呈现净流出,其中,电气设备行业板块主力资金净流出最多,净流出金额为68.69亿元;行业板块主力资金净流出靠前的还有电子、化工、机械设备、医药生物、汽车、计算机,净流出金额分别为48.63亿元、41.71亿元、41.65亿元、36.29亿元、36.14亿元、32.59亿元。

个股来看,今日有1275只个股获主力资金净流入,其中,20股获主力资金净流入超1亿元。麒麟信安获主力资金净流入最多,净流入金额为8.7亿元;主力资金净流入居前的个股还有盈方微、诚迈科技、宁波银行、美利云、光大证券,净流入金额分别为3.71亿元、2.66亿元、1.83亿元、1.71亿元、1.6亿元。

此外,3557只个股被主力资金净卖出,其中,91股被主力资金净卖出超1亿元。主力资金净流出最多的个股是伊利股份,净流出金额为10.1亿元;主力资金净流出居前的个股还有比亚迪、宁德时代、东方财富、贵州茅台、歌尔股份,净流出金额分别为9.29亿元、8.76亿元、8.12亿元、7.53亿元、6.53亿元。

2.北向资金
北向资金本周累计成交5694.74亿元,成交净卖出127.06亿元。其中,沪股通合计净卖出76.01亿元,深股通合计净卖出51.05亿元。
从单日看,北向资金今日成交额为1154.52亿元,成交净卖出20.31亿元。其中,沪股通净买入7.38亿元,深股通净卖出27.69亿元。
活跃个股方面,北向资金净买入较多的有宁德时代、派能科技、长江电力、东方财富、隆基绿能,净买入金额分别为3.45亿元、3.42亿元、2.77亿元、1.63亿元、1.52亿元。北向资金净卖出较多的有比亚迪、恩捷股份、伊利股份、药明康德、恒瑞医药,净卖出金额分别为3.44亿元、3.19亿元、2.76亿元、2.03亿元、1.35亿元。

3.龙虎榜机构资金动向
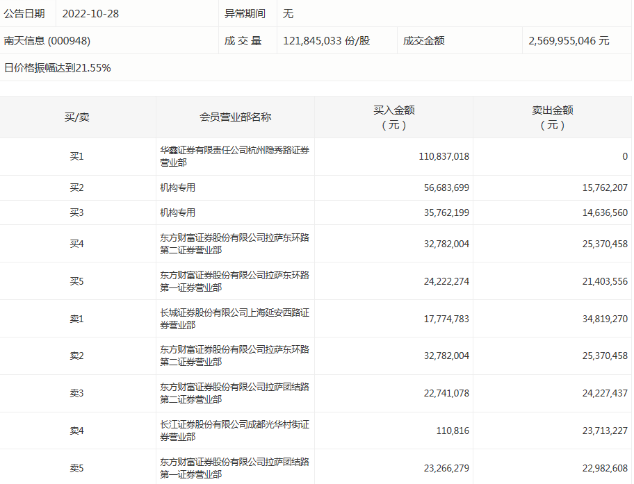
盘后龙虎榜数据显示,今日机构席位资金合计净卖出约1.77亿元。其中,净买入的个股11只,净卖出的个股11只。机构净买入最多的股票是南天信息,净买入金额约6204.71万元;机构净买入居前的还有兴齐眼药、金陵饭店、冰川网络等股。机构净卖出最多的股票是壹石通,净卖出金额约1.1亿元。机构净卖出居前的还有久其软件、健帆生物、美利云等股。

南天信息今天涨3.91%。盘后数据显示,2个机构出现在龙虎榜单上,合计净买入6204.71万元;华鑫证券有限责任公司杭州隐秀路证券营业部买入1.11亿元;长城证券股份有限公司上海延安西路证券营业部买入1777.48万元,同时卖出3481.93万元。

涨跌停个股
截至收盘,沪深两市合计382只个股上涨,4439只个股下跌,平盘个股24只,停牌的个股5只。不含当日上市新股,共有27只个股涨停,87只个股跌停。连续涨停天数看,久其软件、新天药业、直真科技均已连收3个涨停板,连续涨停板数量最多。
涨停股中,从收盘涨停板封单量来看,泰尔股份最受追捧,收盘涨停板封单有5040.50万股;其次是冰山冷热、盈方微,涨停板封单分别有2320.69万股、1276.25万股。以封单金额计算,泰尔股份、冰山冷热、亚翔集成等涨停板封单资金较多,分别有2.52亿元、1.21亿元、1.18亿元。

行业板块、概念方面看,今日所有行业板块都下跌,其中,玻璃玻纤、汽车、建筑材料、钢铁、化工、电气设备、纺织服装、传媒等行业板块跌幅居前;汽车一体化压铸、有机硅、鸡肉概念、钠离子电池、民爆概念、充电桩、磷化工、储能等概念跌幅靠前。涨停个股主要集中在计算机、机械设备、医药生物等行业。

(来源:证券时报)
免责声明:以上内容仅供参考学习使用,不作为投资建议,此操作风险自担。投资有风险、入市需谨慎。
推荐阅读
相关股票
相关板块
相关资讯
扫码下载
九方智投app
扫码关注
九方智投公众号
头条热搜
涨幅排行榜
暂无评论
赶快抢个沙发吧