1日资金路线图:龙虎榜机构抢筹2股
8月1日,上证指数早盘探底回升,随后回落下探,午后再度回升,之后再度回落;深证成指、创业板指、科创50指数早盘冲高回落,午后一度回升,随后再度回落。截至收盘,上证指数报2932.39点,跌0.22%,成交额3525.86亿元;深证成指报8673.58点,跌0.92%,成交额4296.63亿元;创业板指报1665.97点,跌1.31%,成交额1990.17亿元;科创50指数报738.87点,跌0.61%,成交额503.72亿元。沪深两市合计成交7822.49亿元,成交额较上一交易日减少1210.53亿元。
资金流向
1.主力资金
Wind统计显示,沪深两市主力资金今日净流出167.05亿元。其中,创业板主力资金净流出53.41亿元,沪深300成份股主力资金净流出57.3亿元,科创板主力资金净流出0.18亿元。
从行业来看,申万所属的31个一级行业,今日有5个行业主力资金呈现净流入,其中,银行行业主力资金净流入最多,净流入金额为3.58亿元;行业主力资金净流入居前的还有国防军工、建筑装饰,净流入金额分别为3.44亿元、1.43亿元。26个行业主力资金呈现净流出,其中,非银金融行业主力资金净流出最多,净流出金额为29.87亿元;行业主力资金净流出靠前的还有计算机、电力设备、机械设备、电子、传媒,净流出金额分别为20.48亿元、15.55亿元、14.69亿元、12.11亿元、11.89亿元。

个股来看,今日有1884只个股获主力资金净流入,其中,17股获主力资金净流入超1亿元。博实结主力资金净流入最多,净流入金额为5.29亿元;主力资金净流入居前的个股还有士兰微、中国建筑、金龙汽车、深南电路、安凯客车,净流入金额分别为3.67亿元、2.53亿元、2.5亿元、1.84亿元、1.81亿元。

此外,3180只个股被主力资金净卖出,其中,49股被主力资金净卖出超1亿元。主力资金净流出最多的个股是长安汽车,净流出金额为5.1亿元;主力资金净流出居前的个股还有大众交通、五粮液、江铃汽车、北汽蓝谷、三花智控,净流出金额分别为3.5亿元、3.23亿元、3.08亿元、2.78亿元、2.77亿元。

2.北向资金
北向资金今日成交额为1154.32亿元,成交净卖出57.01亿元。其中,沪股通净卖出9.59亿元,深股通净卖出47.42亿元。
活跃个股方面,北向资金今日净买入较多的有药明康德、中信证券、寒武纪、迈瑞医疗,净买入金额分别为2.97亿元、1.91亿元、1.26亿元、1.04亿元。北向资金净卖出较多的有比亚迪、万华化学、深南电路、新易盛、紫金矿业,净卖出金额分别为4.48亿元、4.33亿元、3.37亿元、3.21亿元、3.03亿元。

3.龙虎榜机构资金动向
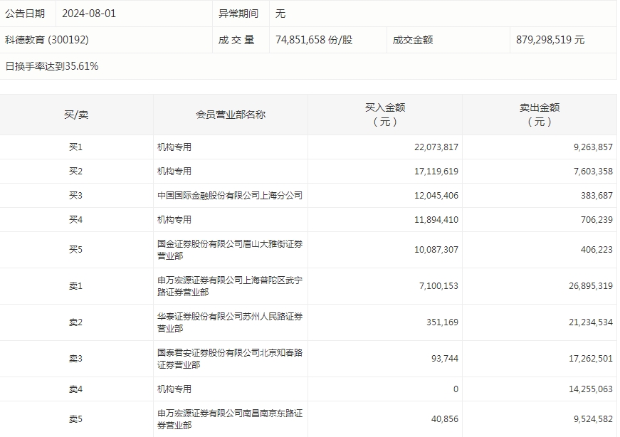
盘后龙虎榜数据显示,今日机构席位资金合计净卖出约1.37亿元。其中,净买入的个股2只,净卖出的个股11只。机构净买入最多的股票是科德教育,净买入金额约1925.93万元;机构净卖出最多的股票是金溢科技,净卖出金额约6872.35万元;机构净卖出居前的还有博实结、中晶科技、信邦智能等股。

科德教育今天涨5.25%。盘后数据显示,4家机构出现在龙虎榜单上,合计净买入1925.93万元;中国国际金融股份有限公司上海分公司买入1204.54万元,同时卖出38.37万元;申万宏源证券有限公司上海普陀区武宁路证券营业部买入710.02万元,同时卖出2689.53万元。

个股涨跌情况
截至收盘,沪深两市合计2116只个股上涨,2669只个股下跌,平盘个股299只,停牌的个股24只。不含当日上市新股,共有73只个股涨停,7只个股跌停。连续涨停天数看,腾达科技已连收9个涨停板,连续涨停板数量最多。
从收盘涨停板封单量来看,山子高科最受追捧,收盘涨停板封单有4439.39万股;其次是中公教育、ST旭蓝,涨停板封单分别有3352.09万股、2644.54万股。以封单金额计算,宗申动力、航天晨光、盈建科等涨停板封单资金较多,分别有2.73亿元、2.16亿元、1.65亿元。

行业板块、概念方面看,行业板块、概念跌多涨少。其中,建筑装饰、教育、国防军工、交通运输、电子等行业涨幅靠前;空间站概念、发电机、存储芯片、商业航天、磁悬浮概念、低空经济等概念走势活跃。食品饮料、美容护理、房地产、电力设备、纺织服装、化工、建筑材料、轻工制造等行业跌幅居前;租售同权、白酒、草甘膦、锂矿概念、重组蛋白、盲盒经济、氟化工、AI语料等概念走势较弱。涨停个股主要集中在医药生物、汽车、机械设备、建筑装饰、国防军工等行业。

免责声明:本页所载内容来旨在分享更多信息,不代表九方智投观点,不构成投资建议。据此操作风险自担。投资有风险、入市需谨慎。
推荐阅读
相关股票
相关板块
相关资讯
扫码下载
九方智投app
扫码关注
九方智投公众号
头条热搜
涨幅排行榜
暂无评论
赶快抢个沙发吧