3日资金路线图:龙虎榜机构抢筹9股
11月3日,沪深两市股指集体走强,上证指数、深证成指、创业板指、科创50指数早盘高开高走,午后持续上扬。截至收盘,上证指数报3030.80点,涨0.71%,成交额3293亿元;深证成指报9853.89点,涨1.22%,成交额4802.47亿元;创业板指报1968.21点,涨1.47%,成交额2238亿元;科创50指数报875.37点,涨1.8%,成交额596.99亿元。沪深两市合计成交8095.47亿元,成交额较上一交易日增加427.68亿元。
资金流向
1.主力资金
Wind统计显示,沪深两市主力资金今日净流入50.68亿元。其中,创业板主力资金净流出1.61亿元,沪深300成分股主力资金净流入50.52亿元,科创板主力资金净流出6.81亿元。
从行业板块来看,申万所属的31个一级行业,今日有16个行业板块主力资金呈现净流入,其中,电子行业板块主力资金净流入最多,净流入金额32.73亿元;行业板块主力资金净流入居前的还有计算机、机械设备、非银金融、食品饮料、电力设备,净流入金额分别为11.57亿元、10.19亿元、9.27亿元、6.71亿元、6.55亿元。15个行业板块主力资金呈现净流出,其中,医药生物行业板块主力资金净流出最多,净流出金额为13.09亿元;行业板块主力资金净流出靠前的还有传媒、建筑装饰、化工,净流出金额分别为10.55亿元、4.52亿元、3.52亿元。

个股来看,今日有1968个股获主力资金净流入,其中,45股获主力资金净流入超1亿元。欧菲光获主力资金净流入最多,净流入金额为15.45亿元;主力资金净流入居前的个股还有贵州茅台、北斗星通、百通能源、科大讯飞、比亚迪,流入金额分别为4.47亿元、4.41亿元、3.9亿元、3.86亿元、3.74亿元。

此外,3099只个股被主力资金净卖出,其中,16股被主力资金净卖出超1亿元。主力资金净流出最多的个股是高新发展,净流出金额为5.83亿元;主力资金净流出居前的个股还有智度股份、百纳千成、鸿博股份、金龙机电、楚天龙,净流出金额分别为3.15亿元、2.67亿元、2.58亿元、2.57亿元、1.53亿元。

2.北向资金
北向资金本周累计成交5815.18亿元,成交净买入5.57亿元。其中,沪股通合计净买入8.67亿元,深股通合计净卖出3.1亿元。
从单日看,北向资金今日成交额为1111.76亿元,成交净买入71.08亿元,连续2个交易日净买入。其中,沪股通净买入28.04亿元,深股通净买入43.04亿元。
活跃个股方面,北向资金今日净买入较多的有比亚迪、东方财富、长江电力、贵州茅台、中信证券,净买入金额分别为4.73亿元、2.9亿元、2.81亿元、2.71亿元、2.52亿元。北向资金净卖出较多的有韦尔股份、宁德时代、立讯精密、江淮汽车、五粮液,净卖出金额分别为5.36亿元、2.68亿元、2.23亿元、1.58亿元、1.27亿元。

3.龙虎榜机构资金动向
盘后龙虎榜数据显示,今日机构席位资金合计净买入约1.73亿元。其中,净买入的个股9只,净卖出的个股14只。机构净买入最多的股票是欧菲光,净买入金额约1.03亿元;机构净买入居前的还有朗科科技、多浦乐、好上好等股。机构净卖出最多的股票是瑞玛精密,净卖出金额约6421.66万元;机构净卖出居前的还有新时达、智度股份、通力科技等股。

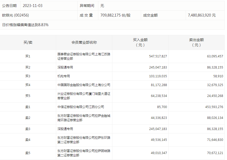
欧菲光今天涨停。盘后数据显示,1个机构出现在龙虎榜单上,净买入1.03亿元;国泰君安证券股份有限公司上海江苏路证券营业部买入5.48亿元,同时卖出6309.55万元;中信证券股份有限公司江西分公司买入8.57万元,同时卖出4.54亿元。

涨跌停个股
截至收盘,沪深两市合计3690个股上涨,1180只个股下跌,平盘个股204只,停牌的个股0只。不含当日上市新股,共有48只个股涨停,2只个股跌停。续涨停天数看,天龙股份已连收8个涨停板,连续涨停板数量最多。
从收盘涨停板封单量来看,巨轮智能最受追捧,收盘涨停板封单有8040.8万股;其次是*ST泛海、欧菲光,涨停板封单分别有3982.37万股、2855.9万股。以封单金额计算,欧菲光、巨轮智能、天龙股份等涨停板封单资金较多,分别有3.1亿元、2.82亿元、2.4亿元。

行业板块、概念方面看,行业板块涨多跌少。其中,电子、机械设备、计算机、军工、通信、电力设备、汽车、食品饮料等行业板块涨幅靠前;减速器、机器视觉、摄像头、存储芯片、工业母机、新型工业化、半导体、机器人、BC电池等概念走势活跃。钢铁、房地产、银行、游戏、贵金属等行业板块跌幅居;熊去氧胆酸、光伏高速公路、创新药、低碳冶金、户外露营等概念走势较弱。涨停个股主要集中在电子、机械设备、汽车、建筑装饰、电力设备等行业。

(来源:证券时报)
免责声明:本页所载内容来旨在分享更多信息,不代表九方智投观点,不构成投资建议。据此操作风险自担。投资有风险、入市需谨慎。
推荐阅读
相关股票
相关板块
相关资讯
扫码下载
九方智投app
扫码关注
九方智投公众号
头条热搜
涨幅排行榜
暂无评论
赶快抢个沙发吧