18日资金路线图:龙虎榜机构抢筹4股
3月18日,上证指数早盘窄幅震荡,午后强势拉升走强;深证成指、创业板指早盘震荡下探,午后探底反弹翻红;科创50指数早盘震荡走低,午后探底回升,截至收盘,上证指数报3251.07点,涨1.12%,成交额4284.15亿元;深证成指报12328.65点,涨0.31%,成交额5620.5亿元;创业板指报2713.79点,涨0.11%,成交额2356.67亿元;科创50指数报1144.32点,涨0.14%,成交额425亿元。沪深两市合计成交9904.65亿元,成交额较上一交易日明显减少,重返万亿元下方。
资金流向
1.主力资金
Wind统计显示,沪深两市主力资金今日净流出92亿元,其中,创业板主力资金净流出32.44亿元,沪深300成分股主力资金净流入18.3亿元,科创板主力资金净流入5.73亿元。
从行业板块来看,申万所属的28个一级行业,今日有10个行业板块主力资金呈现净流入,其中,非银金融行业板块主力资金净流入最多,净流入金额为9.05亿元;行业板块主力资金净流入居前的还有银行、公用事业、建筑装饰,净流入金额分别为9亿元、8.34亿元、7.74亿元。18个行业板块主力资金呈现净流出,其中,医药生物行业板块主力资金净流出最多,净流出金额为44.15亿元;行业板块主力资金净流出靠前的还有化工、计算机、电子、传媒、电气设备,净流出金额分别为18.36亿元、17.69亿元、14.56亿元、10.35亿元、7.98亿元。

个股来看,今日有2023只个股获主力资金净流入,其中,44股获主力资金净流入超1亿元。中国平安获主力资金净流入最多,净流入金额为10.65亿元;主力资金净流入居前的个股还有沃森生物、宁德时代、万科A、舒泰神、康冠科技,净流入金额分别为4.6亿元、4.3亿元、4.04亿元、3.27亿元、2.73亿元。

此外,2626只个股被主力资金净卖出,其中,57股被主力资金净卖出超1亿元。主力资金净流出最多的个股是红日药业,净流出金额为9.28亿元;主力资金净流出居前的个股还有中国医药、华海药业、美利云、南威软件、复星医药,净流出金额分别为8.68亿元、8.5亿元、5.78亿元、4.43亿元、4.08亿元。

2.北向资金
北向资金本周累计成交6548.38亿元,成交净卖出166.92亿元。其中,沪股通合计净卖出73.43亿元,深股通合计净卖出93.49亿元。
从单日看,北向资金今日成交额为1464.91亿元,成交净买入84.57亿元,连续2个交易日净买入。其中,沪股通净买入82.93亿元,深股通净买入1.64亿元。
活跃个股方面,北向资金净买入较多的有招商银行、中信证券、隆基股份、中国平安、美的集团,净买入金额分别为12.02亿元、5.83亿元、5.27亿元、4.93亿元、3.79亿元。北向资金净卖出较多的有宁德时代、贵州茅台、格力电器、中国建筑、宁波银行,净卖出金额分别为7.78亿元、5.53亿元、2.81亿元、2.61亿元、1.62亿元。

3.龙虎榜机构资金动向
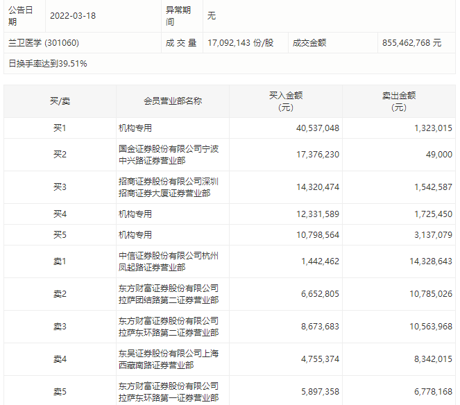
盘后龙虎榜数据显示,今日机构席位资金合计净卖出约2.41亿元。其中,净买入的个股4只,净卖出的个股13只。机构净买入最多的股票是兰卫医学,净买入金额约5748.17万元;机构净买入居前的还有诺泰生物、众生药业等股。机构净卖出最多的股票是兰州银行,净卖出金额约1.02亿元。机构净卖出靠前的还有北化股份、江化微等股。

涨跌停个股
截至收盘,沪深两市合计3478只个股上涨,1113只个股下跌,平盘个股68只,停牌的个股6只。不含当日上市新股,共有130只个股涨停,3只个股跌停。
涨停股中,从收盘涨停板封单量来看,聚力文化最追捧,收盘涨停板封单有3873.12万股;其次是北玻股份、阳光城,涨停板封单分别有3573.4万股、2930.34万股。以封单金额计算,立航科技、上海医药、海联金汇等涨停板封单资金较多,分别有5.1亿元、4.32亿元、2.28亿元。

从行业板块方面看,行业板块涨多跌少,其中,房地产、煤炭、保险、建筑装饰、农林牧渔、银行、公用事业等行业板块涨幅居前;国防军工、计算机、电子等行业板块跌幅靠前。涨停个股主要集中在医药生物、化工、建筑装饰、房地产、公用事业、商业贸易等行业。

兰卫医学今天跌2.87%。盘后数据显示,3个机构出现在龙虎榜单上,合计净买入5748.17万元。招商证券股份有限公司深圳招商证券大厦证券营业部买入1432.05万元,同时卖出154.26万元;中信证券股份有限公司杭州凤起路证券营业部买入144.25万元,同时卖出1432.86万元。

(来源:证券时报)
免责声明:本页所载内容来旨在分享更多信息,不代表九方智投观点,不构成投资建议。据此操作风险自担。投资有风险、入市需谨慎。
推荐阅读
相关股票
相关板块
相关资讯
扫码下载
九方智投app
扫码关注
九方智投公众号
头条热搜
涨幅排行榜
暂无评论
赶快抢个沙发吧