16日资金路线图:龙虎榜机构抢筹10股
12月16日,上证指数、深证成指早盘探底回升,临近午盘再度回落,午后震荡走低,尾盘有所回升;创业板指、科创50指数早盘震荡下探,午后持续走低,尾盘有所回升。截至收盘,上证指数报3167.86点,跌0.02%,成交额3072.28亿元;深证成指报11295.03点,跌0.56%,成交额4541.87亿元;创业板指报2373.72点,跌1.06%,成交额1526.01亿元;科创50指数报978.36点,跌1.1%,成交额435亿元。沪深两市合计成交7614.15亿元,成交额较上一交易日减少48.34亿元。
资金流向
1.主力资金
Wind统计显示,沪深两市主力资金今日净流出267.82亿元。其中,创业板主力资金净流出63.38亿元,沪深300成分股主力资金净流出66.51亿元,科创板主力资金净流出4.44亿元。
从行业板块来看,申万所属的28个一级行业,今日仅有医药生物1个行业板块主力资金呈现净流入,净流入金额为4.84亿元。27个行业板块主力资金呈现净流出,其中,电子行业板块主力资金净流出最多,净流出金额为42.92亿元;行业板块主力资金净流出靠前的还有电气设备、有色金属、机械设备、计算机、化工、汽车,净流出金额分别为32.82亿元、29.02亿元、23.77亿元、23.51亿元、16.68亿元、15.57亿元。

个股来看,今日有1516只个股获主力资金净流入,其中,20股获主力资金净流入超1亿元。众生药业获主力资金净流入最多,净流入金额为4.86亿元;主力资金净流入居前的个股还有燕东微、复星医药、广生堂、雅本化学、翠微股份,净流入金额分别为4.55亿元、4.21亿元、2.32亿元、2.15亿元、2.08亿元。

此外,3364只个股被主力资金净卖出,其中,56股被主力资金净卖出超1亿元。主力资金净流出最多的个股是天齐锂业,净流出金额为6.46亿元;主力资金净流出居前的个股还有以岭药业、大港股份、赣锋锂业、贵州茅台、兴业银行,净流出金额分别为5.95亿元、4.45亿元、4.1亿元、3.31亿元、2.67亿元。

2.北向资金
北向资金本周累计成交4424.04亿元,成交净买入56.65亿元。其中,沪股通合计净买入3.69亿元,深股通合计净买入52.96亿元。
从单日看,北向资金今日成交额为859.59亿元,成交净买入43.62亿元,连续3个交易日净买入。其中,沪股通净买入40.38亿元,深股通净买入3.24亿元。
活跃个股方面,北向资金净买入较多的有贵州茅台、五粮液、中国平安、招商银行、阳光电源,净买入金额分别为8.51亿元、6.19亿元、3.04亿元、2.86亿元、1.92亿元。北向资金净卖出较多的有赣锋锂业、通威股份、宁德时代、伊利股份、隆基绿能,净卖出金额分别为2.14亿元、1.6亿元、1.56亿元、0.9亿元、0.6亿元。

3.龙虎榜机构资金动向
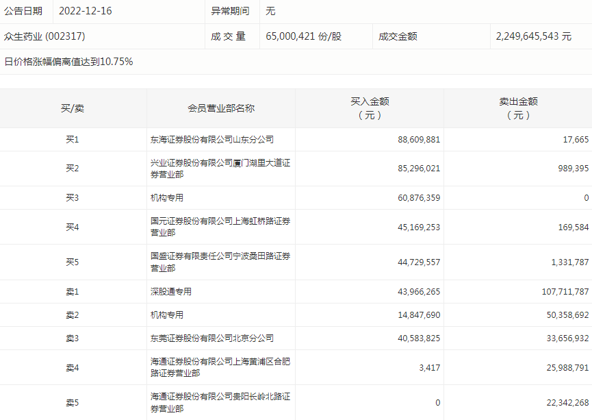
盘后龙虎榜数据显示,今日机构席位资金合计净卖出约4.59亿元。其中,净买入的个股10只,净卖出的个股18只。机构净买入最多的股票是众生药业,净买入金额约2536.54万元;机构净买入居前的还有西安旅游、绿康生化等股。机构净卖出最多的股票是国联股份,净卖出金额约2.25亿元;机构净卖出居前的还有龙蟠科技、新华制药、传艺科技等股。


涨跌停个股
截至收盘,沪深两市合计1300只个股上涨,3483只个股下跌,平盘个股104只,停牌的个股4只。不含当日上市新股,共有41只个股涨停,14只个股跌停。连续涨停天数看,格力地产已连收6个涨停板,连续涨停板数量最多。
涨停股中,从收盘涨停板封单量来看,格力地产最受追捧,收盘涨停板封单有13133.71万股;其次是龙泉股份、中国医药,涨停板封单分别有4186.37万股、3727.19万股。以封单金额计算,格力地产、中国医药、众生药业等涨停板封单资金较多,分别有15.16亿元、7.57亿元、3.84亿元。


(来源:证券时报)
免责声明:本页所载内容来旨在分享更多信息,不代表九方智投观点,不构成投资建议。据此操作风险自担。投资有风险、入市需谨慎。
推荐阅读
相关股票
相关板块
相关资讯
扫码下载
九方智投app
扫码关注
九方智投公众号
头条热搜
涨幅排行榜
暂无评论
赶快抢个沙发吧