浪潮信息股价创历史新高!一机构净买入1.15亿元
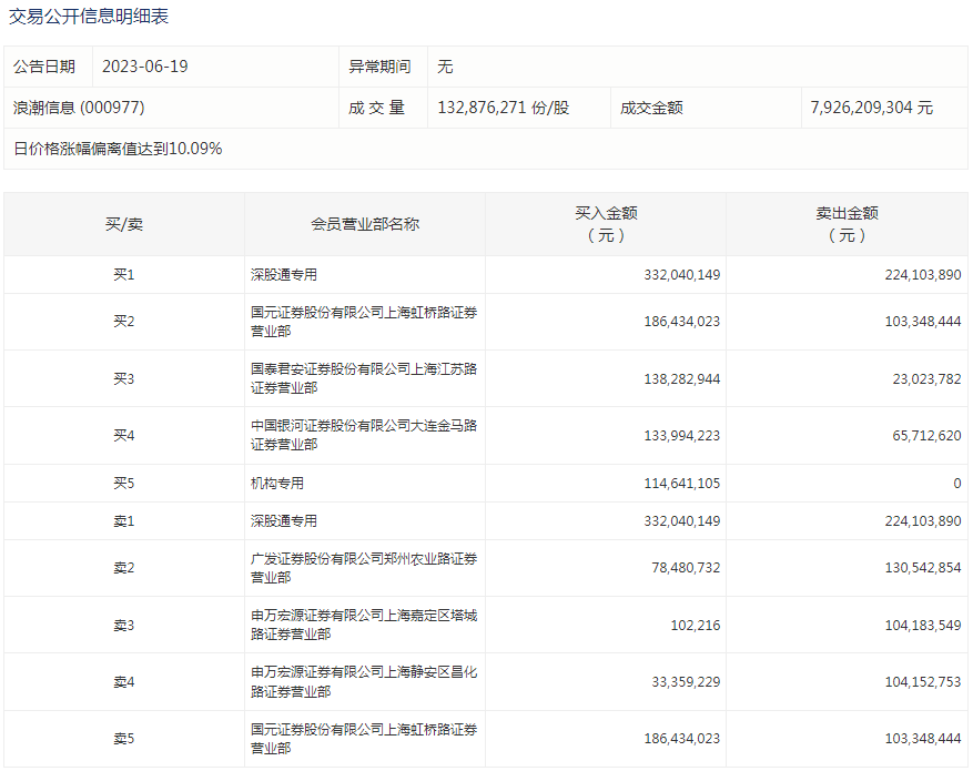
6月19日,浪潮信息今日以涨停收盘,报62.15元,股价创历史新高,成交额79.26亿元,换手率9.04%。

盘后龙虎榜数据显示,深股通专用席位买入3.32亿元并卖出2.24亿元,一机构净买入1.15亿元。

浪潮信息此前公告,高级管理人员吴龙、公维锋、黄家明拟减持不超过0.0112%。
财务方面,据浪潮信息2023年一季报显示,公司主营收入94亿元,同比下降45.59%;归母净利润2.1亿元,同比下降37.04%。
(来源:第一财经)
免责声明:本页所载内容来旨在分享更多信息,不代表九方智投观点,不构成投资建议。据此操作风险自担。投资有风险、入市需谨慎。
推荐阅读
相关股票
相关板块
相关资讯
扫码下载
九方智投app
扫码关注
九方智投公众号
头条热搜
涨幅排行榜
暂无评论
赶快抢个沙发吧